AkileCloud香港HKLite VPS测评:移动回程直连看视频21万+速度,流媒体解锁多,无限流量10Gbps大带宽
站长:搬瓦工美国CN2 GIA/日本/荷兰等19个机房可随意切换,49.99美元/季,支持支付宝/Paypal
推荐:DMIT美国CN2 GIA,每15天可以免费换一次IP(被 * ),9.99美元/月,支持支付宝/Paypal AkileCloud前段时间上线了香港HKLite高级竞技套餐,商家说法是“接入TATA/PCCW/COGENT/EIE等网络,国际互联优秀,内置AKILE DNS香港内网解锁流媒体解锁,支持Netflix/Disney+/Youtube/人工智能平台/MytvSuper等流媒体解锁”,当然这个套餐最主要的是10Gbps大带宽+无限流量,香港机房这种超大带宽肯定不是到内地直连了,商家都说“国际互联优秀”已经是暗示了,不过目前市面上香港机房给10Gbps带宽还无限流量的商家好像基本没有,AkileCloud支持支付宝、银联、Paypal和主流加密货币,所以国内用户也不少,这里VPS小学生就测试下最低配AkileCloud香港HKLite VPS的性能供大家参考。
测评同款配置:1核CPU、1G内存、20GB硬盘、无限流量、10Gbps带宽、1个IPv4、50元/月,点此入手
AkileCloud最新促销活动:http://www.vpsxxs.com/tag/akilecloud/
AkileCloud香港HKLite VPS硬件测试

AkileCloud香港HKLite VPS硬件测试
首先看一下AkileCloud香港HKLite VPS的硬件测试。可以看到是用的AMD EPYC 7302处理器,单核3.0GHz的频率,CPU不错。读出来979M的内存,默认还给了1024M的虚拟内存,内存配置的也合理。20GB硬盘都读出来了,但是硬盘读写速度一般,105MB/s够用是够用,不过有点在石头盘的边缘疯狂试探的感觉了。整体而言硬件上CPU内存都不错,硬盘差了些。
AkileCloud香港HKLite VPS网咯测试

AkileCloud香港HKLite VPS到国内外上传下载速度测试
AkileCloud香港HKLite VPS下载速度波动比较大,不过亚洲机房大多数都超过2.5G的下载速度了,对于国人用户更重要的上传速度来说,内地节点基本都在250M左右,欧美节点在400M左右,不过亚太节点特别是香港机房能跑8G以上,虽然上传下载速度波动大,不过毕竟给的带宽够大,整体而言上传下载速度还是很不错的。

AkileCloud香港HKLite VPS国内ping
AkileCloud香港HKLite VPS到内地的平均延迟304ms,这肯定全球绕了,不过这也意料之中,香港机房10Gbps带宽那肯定是会绕路的。来看看具体的三网路由:

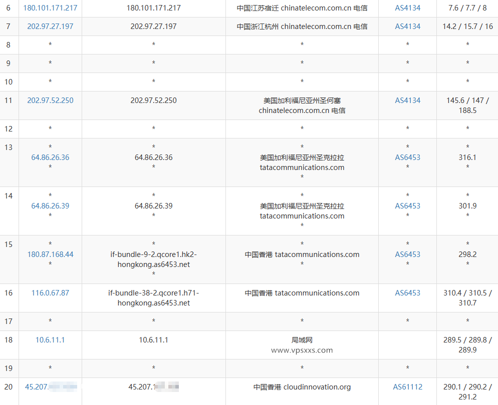
AkileCloud香港HKLite VPS电信去程路由

AkileCloud香港HKLite VPS电信回程路由

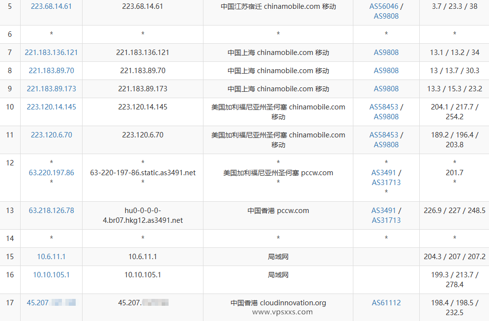
AkileCloud香港HKLite VPS联通去程路由

AkileCloud香港HKLite VPS联通回程路由

AkileCloud香港HKLite VPS移动去程路由

AkileCloud香港HKLite VPS移动回程路由
可以看到,AkileCloud香港HKLite VPS电信去程绕到美国圣何塞然后到香港机房,回程还是绕道美国;联通去程依然是绕道美国圣何塞,回程大部分节点还是绕路,不过也有部分直连或者绕日本回程的;移动去程还是绕美国圣何塞,不过回程倒是都是直连回程。等于移动回程直连延迟还低,剩下的都是往返绕路,单看路由的话移动最好,联通差一些,电信最差。

AkileCloud香港HKLite VPS网络质量体检报告
从AkileCloud香港HKLite VPS网络质量体检报告能看到电信延迟最高,联通延迟也比较高,不过移动延迟大多都还算比较低,国际互联的话亚太机房延迟也比较低。
AkileCloud香港HKLite VPS看视频

AkileCloud香港HKLite VPS是否原生IP检测

AkileCloud香港HKLite VPS流媒体解锁能力测试
至少部分脚本认为AkileCloud香港HKLite VPS是香港原生IP,不过大部分流媒体都是DNS解锁,其中Tiktok解锁台区,Netflix、Disney+解锁港区,人工智能平台和其他流媒体解锁解锁台区或者港区,这样正好,因为如果是真香港本土IP的话很多流媒体反而是不能解锁的,DNS解锁并不影响流媒体观看(人工智能可能会降智)。

AkileCloud香港HKLite VPS ipinfo.io是否住宅IP检测

AkileCloud香港HKLite VPS IP质量体检报告

AkileCloud香港HKLite VPS ping0.cc是否家庭IP检测
AkileCloud香港HKLite VPS在ipinfo.io检测出来两个type的值都是“hosting”,就是普通的机房IP。IP质量体检报告也认为是机房IP,并且认为是广播IP。ping0.cc也认为是IDC机房IP,也是广播IP,并且IP纯净度比较差。看来大概率就是普通的广播IP了。

AkileCloud香港HKLite VPS看youtube
VPS小学生本地是移动带宽,用AkileCloud香港HKLite VPS看视频有21万+的速度,非常流程的看4K的清晰度。因为看视频其实吃的是上传速度和回程路由,之前测试三网往返绕路只有移动回程直连,所以按说本地是移动带宽看视频速度应该是最快的,本地是联通带宽的朋友速度应该就会差一些了,本地是电信带宽速度估计会更差。
AkileCloud香港HKLite VPS搭建网站

AkileCloud香港HKLite VPS安装宝塔建站面板
VPS小学生这台最低配AkileCloud香港HKLite VPS在安装宝塔建站面板并配置默认的LNMP环境之后,还有587M内存的剩余,还有15GB硬盘的剩余,硬件资源搭建个小站还是够用的,不过因为到内地基本都绕路,还是10Gbps不限流量,更适合面向国外用户建站使用。
以上就是VPS小学生对AkileCloud香港HKLite VPS的测评。可以看到AkileCloud香港HKLite VPS硬件上CPU和内存还不错,硬盘读写速度差了一些。三网基本上往返都绕路,只有移动回程直连,三网延迟都比较高。上传速度内地节点基本在250M左右,不过香港节点能跑到8G还是很猛的。不过移动看视频能有21万+的速度,非常流畅的看4K的清晰度。而且因为内置DNS解锁,流媒体解锁能力还是非常优秀的,如果想要香港机房服务器看流媒体,或者本地是移动带宽的朋友,或者有香港机房大带宽无限流量需求的朋友还是非常值得入手的。
AkileCloud最新促销活动:http://www.vpsxxs.com/tag/akilecloud/
以上就是VPS小学生和您分享的“AkileCloud香港HKLite VPS测评:移动回程直连看视频21万+速度,流媒体解锁多,无限流量10Gbps大带宽”,希望对大家有所帮助,如果大家还有什么问题的话,欢迎在下面评论留言,VPS小学生知无不言!

关注公众号VPSXXS














