丽萨主机越南双ISP VPS测评:越南家宽IP纯净度高,三网回程直连看视频14万+速度,移动Tiktok直播更适合
站长:搬瓦工美国CN2 GIA/日本/荷兰等19个机房可随意切换,49.99美元/季,支持支付宝/Paypal
推荐:DMIT美国CN2 GIA,若被*每15天可以免费换一次IP,12.98美元/月,支持支付宝/Paypal 丽萨主机在东南亚方向之前已经有中国香港、台湾、新加坡双ISP服务器了,VPS小学生之前也都测评过。这次丽萨主机又在越南机房上线“越南双ISP原生住宅家宽IP VPS【双ISP原生家宽住宅IP,IP质量高,小众西贡邮电运营商IP段,Tiktok数据好】”,每台机器还免费送5个纯净原生越南IPv6地址,不过VPS小学生还是只喜欢IPv4。丽萨主机支持支付宝、USDT付款,国内用户也很多,这次VPS小学生就测试下最低配100Mbps带宽的丽萨主机越南双ISP VPS的性能供大家参考。
测评同款:1核CPU、1G内存、20GB NVMe硬盘、3TB月流量、100Mbps带宽、1个IPv4,79.2元/月(优惠码TS-CBP205DQJE),点此购买
另外还有一款年付特价套餐,1TB月流量,629.1元/年(优惠码同上),点此购买
丽萨主机最新促销活动:http://www.vpsxxs.com/tag/lishazhuji/
丽萨主机越南双ISP VPS硬件测试

丽萨主机越南双ISP VPS硬件测试
首先看一下丽萨主机越南双ISP VPS的硬件测试。可以看到是用的E5-2686v4处理器,单核2.30GHz的频率。读出来991M的内存,没有默认的虚拟内存。20GB硬盘都读出来了,硬盘平均读写速度627MB/s。硬件整体性能还不错,不过CPU一般。可以看到是KVM虚拟化的,VPS小学生手动安装了原生BBR。
丽萨主机越南双ISP VPS网络测试

丽萨主机越南双ISP VPS到国内外上传下载速度测试
VPS小学生这台最低配套餐和年付特价套餐都是最低的100Mbps,国内外下载速度基本都跑满带宽了,内地上传速度基本都在80M以上,海外节点基本都在90M以上,上传下载速度还不错。大家如果买其他高配套餐可以类推自己的上传速度。

丽萨主机越南双ISP VPS国内ping
丽萨主机越南双ISP VPS到国内的平均延迟207ms,对于越南机房来说延迟算正常吧。虽然越南跟我们挨着的,但是基本没三网直连线路,好像今年(2026年)广西会有直连越南的光缆,看到时候路由会不会优化吧。来看看具体的三网路由:

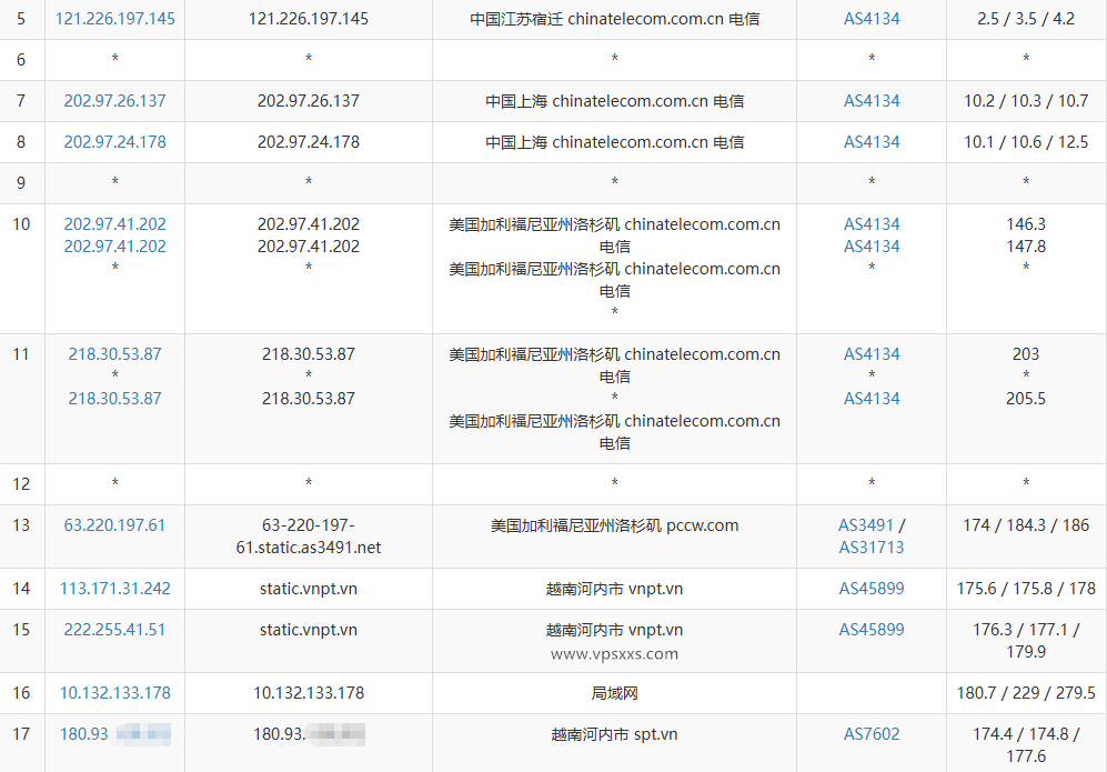
丽萨主机越南双ISP VPS电信去程路由

丽萨主机越南双ISP VPS电信回程路由

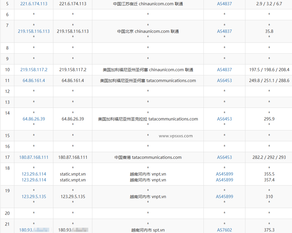
丽萨主机越南双ISP VPS联通去程路由

丽萨主机越南双ISP VPS联通回程路由

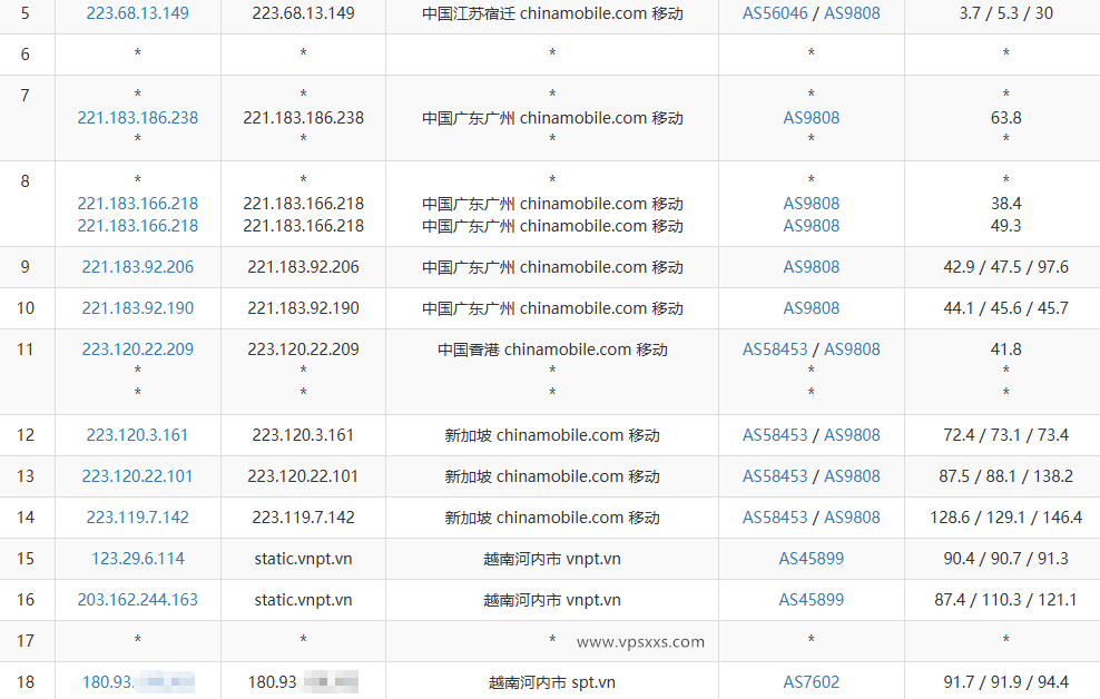
丽萨主机越南双ISP VPS移动去程路由

丽萨主机越南双ISP VPS移动回程路由
可以看到,丽萨主机越南双ISP VPS电信去程绕到美国然后到越南,回程倒是大多经过香港机房直连回程;联通去程又是绕到美国,然后绕到香港到越南,回程大部分节点还是经过香港直连回程;移动去程是经过新加坡,算是小绕了一下,回程还是经过香港机房直连回程。三网回程大部分都是经过香港直连,去程三网都绕路,至少移动绕路少一些。

丽萨主机越南双ISP VPS网络质量体检报告
从丽萨主机越南双ISP VPS网络质量体检报告可以看到到国内的延迟大多在200ms左右,回程大多是走电信163线路,到香港新加坡东京这些亚太机房延迟其实并不低。
丽萨主机越南双ISP VPS看视频

丽萨主机越南双ISP VPS是否原生IP检测

丽萨主机越南双ISP VPS流媒体解锁能力测试
至少VPS小学生的这台丽萨主机越南双ISP VPS被脚本判定为越南原生IP,能原生解锁越南Tiktok、越南人工智能平台和所有越南本土流媒体,大家可以看下有没有自己需要的解锁能力。

丽萨主机越南双ISP VPS ipinfo.io是否住宅IP检测

丽萨主机越南双ISP VPS IP质量体检报告

丽萨主机越南双ISP VPS ping0.cc是否家庭IP检测
可以看到,丽萨主机越南双ISP VPS在ipinfo.io检测出来两个type的值都是“business”,ipinfo认为是商业带宽。IP质量体检报告可以看到确实有部分数据库认为是商业带宽,不过没有认为是机房IP的,大多还是认为是家宽IP,并且也认为是越南原生IP,而且所有数据库都认为IP特别纯净。ping0.cc认为是越南原生IP,同时也认为是越南机房IP,并且认为IP极度纯净。看大家信任哪个检测结果了,不过大部分还都认为是越南家宽IP的。

丽萨主机越南双ISP VPS看youtube
VPS小学生本地是移动带宽,用丽萨主机越南双ISP VPS看视频有14万+的速度,非常流畅的看4K的清晰度。而且越南机房有这个速度非常牛逼了。根据之前路由测试,三网回程基本都是直连但是电信联通去程都绕美国,所以估计本地是电信带宽和联通带宽的朋友看视频速度估计要慢一些。不过因为测试机是最低配套餐,带宽只有100M,入手高配套餐的朋友因为带宽更大,看视频应该会更快一些的。
丽萨主机越南双ISP VPS搭建网站

丽萨主机越南双ISP VPS安装宝塔建站面板
这台最低配丽萨主机越南双ISP VPS在安装宝塔建站面板并配置默认的LNMP环境之后,还有416M内存的剩余和13GB硬盘的剩余,用来搭建个小网站资源还是够用的,当然如果建站的话最好还是用更高配置的套餐,剩余资源多,带宽也更大一些。
以上就是VPS小学生对丽萨主机越南双ISP VPS的测评。可以看到丽萨主机越南双ISP VPS的硬件中规中矩还不错,内存硬盘给的量也还行。下载速度基本都能跑满带宽,上传速度能跑80M最低配也够用了。三网去程都绕路,不过三网回程基本都直连,而且看视频能有14万+的速度对于东南亚机房来说很猛了,如果做Tiktok直播的话其实可以试试直连不中转的。当然这种套餐最主要的还是IP,绝大部分数据库都认为是双ISP越南家宽IP(要不就认为是商宽IP),所有数据库都认为IP纯净度很高,这就非常适合做越南Tiktok短视频外贸运营的朋友了,而且越南好像也没什么优化线路,最好用移动线路做越南TK直播,电信联通不好说,如果对TK直播要求高的话,就用香港优化线路中转一下。总之如果想要越南双ISP家宽IP做东南亚Tiktok运营的话,丽萨主机越南双ISP VPS还是非常值得入手一试的。
丽萨主机最新促销活动:http://www.vpsxxs.com/tag/lishazhuji/
以上就是VPS小学生和您分享的“丽萨主机越南双ISP VPS测评:越南家宽IP纯净度高,三网回程直连看视频14万+速度,移动Tiktok直播更适合”,希望对大家有所帮助,如果大家还有什么问题的话,欢迎在下面评论留言,VPS小学生知无不言!

关注公众号VPSXXS














