WePC马来西亚TikTok VPS测评:双ISP马来家宽IP,IP极度纯净,东南亚TK运营必备,但TK直播需中转
站长:搬瓦工美国CN2 GIA/日本/荷兰等19个机房可随意切换,49.99美元/季,支持支付宝/Paypal
推荐:DMIT美国CN2 GIA,每15天可以免费换一次IP(被 * ),9.99美元/月,支持支付宝/Paypal WePC只做国外住宅IP VPS,很多做Tiktok短视频外贸的朋友都在使用。前几天WePC上线“全球TikTok_VPS - 马来西亚双ISP家宽_TK专用”套餐,说是马来原生家宽IP,建议加中转使用,超流量限速5M。目前做东南亚Tiktok运营的朋友很多都需要马来西亚住宅IP,这里VPS小学生就测试下WePC马来西亚TikTok VPS的性能供大家参考。
测评同款配置:2核CPU、512MB DDR4内存、10GB NVME硬盘、2TB双向流量、100Mbps带宽、1个IPv4、22.41澳元/月(优惠码WePCMON90),65.43澳元/季(优惠码WePCMON90),239.04澳元/年(优惠码WePCYEAR80),支持支付宝/Paypal,点此入手
WePC最新促销活动:http://www.vpsxxs.com/tag/wepc/
WePC马来西亚TikTok VPS硬件测试

WePC马来西亚TikTok VPS硬件测试
首先看一下WePC马来西亚TikTok VPS的硬件测试。可以看到是用的Gold 6138处理器,双核2.00GHz的频率。读出来512M的内存,没有默认的虚拟内存。10GB硬盘都读出来了,硬盘平均读写速度220MB/s,硬盘性能一般。处理器性能不错,但是内存硬盘给的量小。可以看到是KVM虚拟化的,VPS小学生手动安装了原生BBR。
WePC马来西亚TikTok VPS网络测试

WePC马来西亚TikTok VPS到国内外上传下载速度测试
WePC马来西亚TikTok VPS所有节点下载速度基本跑满带宽了,海外节点上传速度也基本跑满带宽了,不过内地节点上传速度有明显缩水,基本都在60M左右,够用倒是够用了(对于直播的朋友来说)。

WePC马来西亚TikTok VPS国内ping
WePC马来西亚TikTok VPS到国内的平均延迟217ms了,不用想肯定绕路了,现在马来西亚机房不绕路的也少,WePC马来西亚这个延迟应该不是绕的特别狠。来看看具体的三网路由:

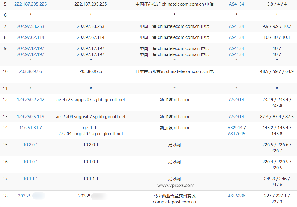
WePC马来西亚TikTok VPS电信去程路由

WePC马来西亚TikTok VPS电信回程路由

WePC马来西亚TikTok VPS联通去程路由

WePC马来西亚TikTok VPS联通回程路由

WePC马来西亚TikTok VPS移动去程路由

WePC马来西亚TikTok VPS移动回程路由
可以看到,WePC马来西亚TikTok VPS电信去程先到日本然后到新加坡,绕的倒是不远但是延迟比较高,回程大部分节点还是绕日本回程;联通去程绕到德国了,奇怪为什么会这样走,延迟也高的很,回程大部分节点还是绕德国;移动去程绕到美国,回程大部分绕欧洲。等于三网往返都绕路,延迟有点高,到中国大陆路由比较差。

WePC马来西亚TikTok VPS网络质量体检报告
网络质量体检报告能看出来大部分国内节点延迟都超过250ms了,不过到新加坡基本没延迟,到香港机房延迟也比较低,看来适合用新加坡或者香港机房中转。
WePC马来西亚TikTok VPS看视频

WePC马来西亚TikTok VPS是否原生IP检测

WePC马来西亚TikTok VPS流媒体解锁能力测试
至少VPS小学生随机开通的这台WePC马来西亚TikTok VPS是马来西亚原生IP,能原生解锁马来西亚Tiktok、马来西亚Netflix、马来西亚人工智能平台等流媒体,大家可以看下有没有自己需要的解锁能力。

WePC马来西亚TikTok VPS ipinfo.io是否住宅IP检测

WePC马来西亚TikTok VPS IP质量体检报告

WePC马来西亚TikTok VPS ping0.cc是否家庭IP检测
WePC马来西亚TikTok VPS被ipinfo.io检测出来是单isp,看来多少有争议了。不过IP质量体检报告认为是马来西亚原生IP,并且大部分数据库(就除了ipinfo.io)都认为是家宽IP,并且所有数据库都认为IP极度纯净,IP非常干净!ping0.cc也认为是原生IP,同时也认为马来西亚家庭IP,看来是马来西亚家宽IP是没有疑问的。应该也是双ISP,只是ipinfo.io的数据库没更新,不过这个大家还是只做参考,相信自己相信的就可以了。

WePC马来西亚TikTok VPS看youtube
VPS小学生本地是联通带宽,用WePC马来西亚TikTok VPS看视频有6万+的速度,勉强能看4K的清晰度。之前上面测试内地节点上传速度只有60M,三网还都绕路延迟高,能有这个速度不错了,看来单纯用来看视频的话不太合适。
WePC马来西亚TikTok VPS搭建网站

WePC马来西亚TikTok VPS安装宝塔建站面板
WePC马来西亚TikTok VPS在安装宝塔建站面板并配置默认的LNMP环境之后,还有134M内存的剩余和5GB硬盘的剩余,用来建站有点吃力了,而且WePC马来西亚TikTok VPS只有这一个配置,没更高的配置也没法单独购买硬件,而且WePC这个产品介绍都说了是“TK专用”,非必要大家还是别建站使用了。
以上就是VPS小学生对WePC马来西亚TikTok VPS的测评。可以看到WePC马来西亚TikTok VPS硬件上CPU其实不错,但是内存硬盘性能一般给的量也小。到国内往返绕路延迟还高,看视频速度也比较慢。不过这都不重要,既然WePC都说这是TikTok VPS了,对做Tiktok的朋友来说还不错,内地上传能有60M,海外机房能有90M,端口其实不小了,当然最主要的是确实是马来西亚原生IP,大部分数据库也认为是马来西亚双ISP,也都认为是马来西亚家庭IP,而且IP纯净度超高,对于需要做马来西亚Tiktok的朋友来说已经是非常好的选择了。只是如果是做Tiktok短视频、切片的话可以直接用。但是做马来西亚Tiktok直播的话,最好还是中转一下使用。因为马来机房位置的特殊性,目前(2026年1月)建议用Evoxt马来西亚机房(三网回程CN2直连,扩展阅读:Evoxt马来西亚VPS测评:马来西亚原生IP,三网回程CN2直连,看视频10万+速度)或者印尼机房(走新加坡CN2 GIA线路,扩展阅读:Evoxt印度尼西亚VPS测评:看视频17万+速度,三网回程GIA电信去程CN2 GIA,东南亚Tiktok直播中转必备),或者搬瓦工香港CN2 GIA线路(适合要求特别高的用户,比较贵,但是效果最好,扩展阅读:搬瓦工香港CN2 GIA VPS测评:三网回程强制走CN2 GIA线路,去程电信CN2 GIA/联通AS4837/移动CMI)。
总之,如果单纯用来看视频或者建站不建议入手,但是如果是做东南亚Tiktok短视频运营的非常建议入手,如果同时还做东南亚Tiktok直播的话,需要使用新加坡或者香港机房中转使用。WePC支持支付宝和Paypal,购买也方便,有需要的可以入手一试!
WePC最新促销活动:http://www.vpsxxs.com/tag/wepc/
以上就是VPS小学生和您分享的“WePC马来西亚TikTok VPS测评:双ISP马来家宽IP,IP极度纯净,东南亚TK运营必备,但TK直播需中转”,希望对大家有所帮助,如果大家还有什么问题的话,欢迎在下面评论留言,VPS小学生知无不言!

关注公众号VPSXXS
















你好,请问可以给我推荐一个适合在中国直播马来西亚TK和FB的原生住宅lsp套餐吗?如果需要中转,麻烦给我推荐一下中转,谢谢
WePC这个马来西亚双ISP就可以啊
要求高的话可以用荫云马来西亚真家宽VPS,这个是在马来西亚租民宅然后拉光纤,最真实马来IP,就是比较贵,测评参考:http://www.vpsxxs.com/yinyunmalaixiyvpsceping/
中转不折腾就DMIT香港CN2 GIA:https://www.dmit.io/aff.php?aff=3119&pid=123,想便宜一些的话就参考荫云马来西亚测评里介绍的Evoxt马来西亚优质网络或者印尼优质网络
好的,谢谢
请问是39.9美元一个月的这个中转吗?有没有便宜一些的中转推荐呀?十刀左右一个月的,谢谢
文章末尾分享的有,您看下
请问这个套餐做FB的视频切片适合入手吗?
不清楚
请问用Evoxt中转的话,是下单香港的优质网络,还是下单马来西亚的优质网络
马来、香港,如此排序,反正才2.99美元一个月,可以自己试试,仅供参考,优惠码AFF171-vpsxxs 能优惠5%