AkileCloud德国BGP VPS测评:联通往返直连看视频18万+速度,适合联通用户,移动也可一用
站长:搬瓦工美国CN2 GIA/日本/荷兰等19个机房可随意切换,49.99美元/季,支持支付宝/Paypal
推荐:DMIT美国CN2 GIA,每15天可以免费换一次IP(被 * ),9.99美元/月,支持支付宝/Paypal AkileCloud德国机房全部是BGP线路,其中DEBGP是E5系列处理器、DEBGP Base是AMD 9950X系列处理器、 DEBGP Lite是AMD 7950X系列处理器。当然这里最便宜的就是E5系列了,VPS小学生对CPU要求不高,主要是想看看线路,反正都是10Gbps大带宽,最便宜的9.9元/月的Mini经常没货,VPS小学生开通的49.99元/月的Standard套餐数量也不多,不过购买页可以看到所有套餐配置和有货情况,也支持支付宝、银联、Paypal和主流加密货币,大家根据自己的需要入手就可以了。这里VPS小学生就测试下AkileCloud德国BGP VPS的性能供大家参考。
测评同款:2核CPU、2G内存、30GB硬盘、2TB月流量、10Gbps带宽、1个IPv4、49.99元/月,点此入手
Mini套餐9.9元/月,点此入手
Starter套餐19.9元/月,点此入手
AkileCloud最新促销活动:http://www.vpsxxs.com/tag/akilecloud/
AkileCloud德国BGP VPS硬件测试

AkileCloud德国BGP VPS硬件测试
首先看一下AkileCloud德国BGP VPS的硬件测试。可以看到确实是用的E5系列处理器,具体是E5-2698v4处理器,双核2.20GHz的频率。读出来3933M的内存,没有默认的虚拟内存。50GB硬盘都读出来了,硬盘平均读写速度96MB/s,标准的石头盘啊,不知道AMD系列的硬盘会不会好一些。可以看到是KVM虚拟化的,用的是系统自带的BBR。
AkileCloud德国BGP VPS网络测试

AkileCloud德国BGP VPS到国内外上传下载速度测试
可以看到,AkileCloud德国BGP VPS到国内外下载速度基本都到2G了,下载速度很猛。对国人用户更重要的上传速度来说,国内节点基本都在300M以上,上传速度也不错,当然欧洲机房上传速度更好。

AkileCloud德国BGP VPS国内ping
AkileCloud德国BGP VPS到国内的平均延迟233ms,延迟有点高啊。德国机房到国内是有优化线路的,而且就算走普通三网直连线路一般也不会超过200ms。不过AkileCloud德国机房既然叫BGP了意思就是国际线路,而且10Gbps的大带宽不用想肯定不会直连。来看看具体的三网路由:

AkileCloud德国BGP VPS电信去程路由

AkileCloud德国BGP VPS电信回程路由

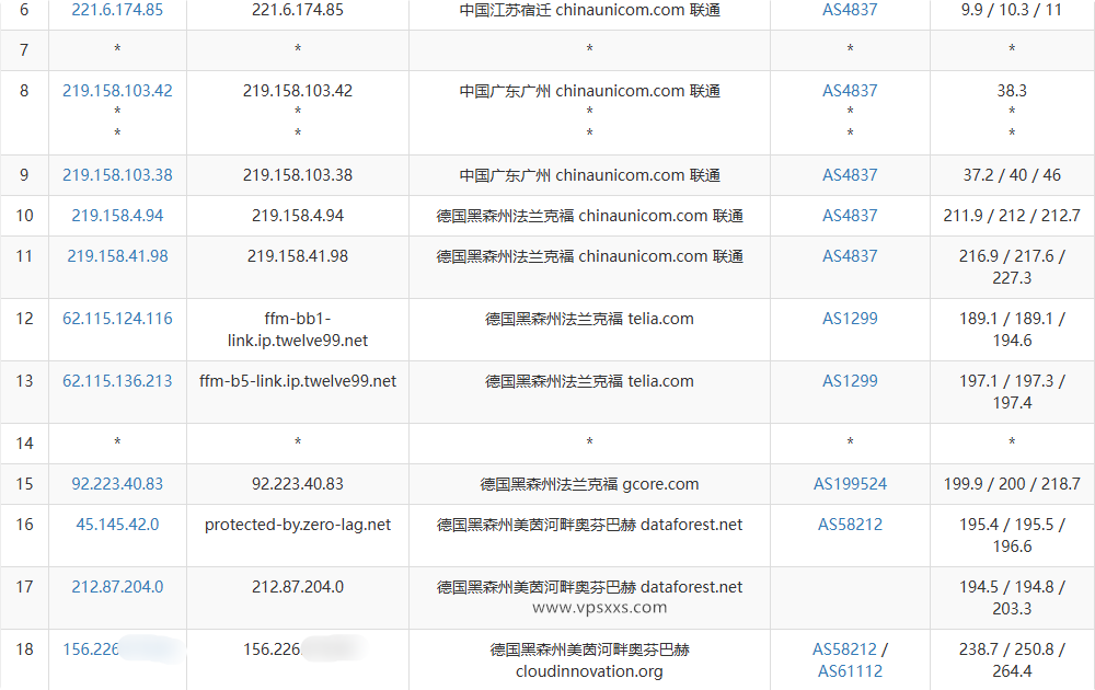
AkileCloud德国BGP VPS联通去程路由

AkileCloud德国BGP VPS联通回程路由

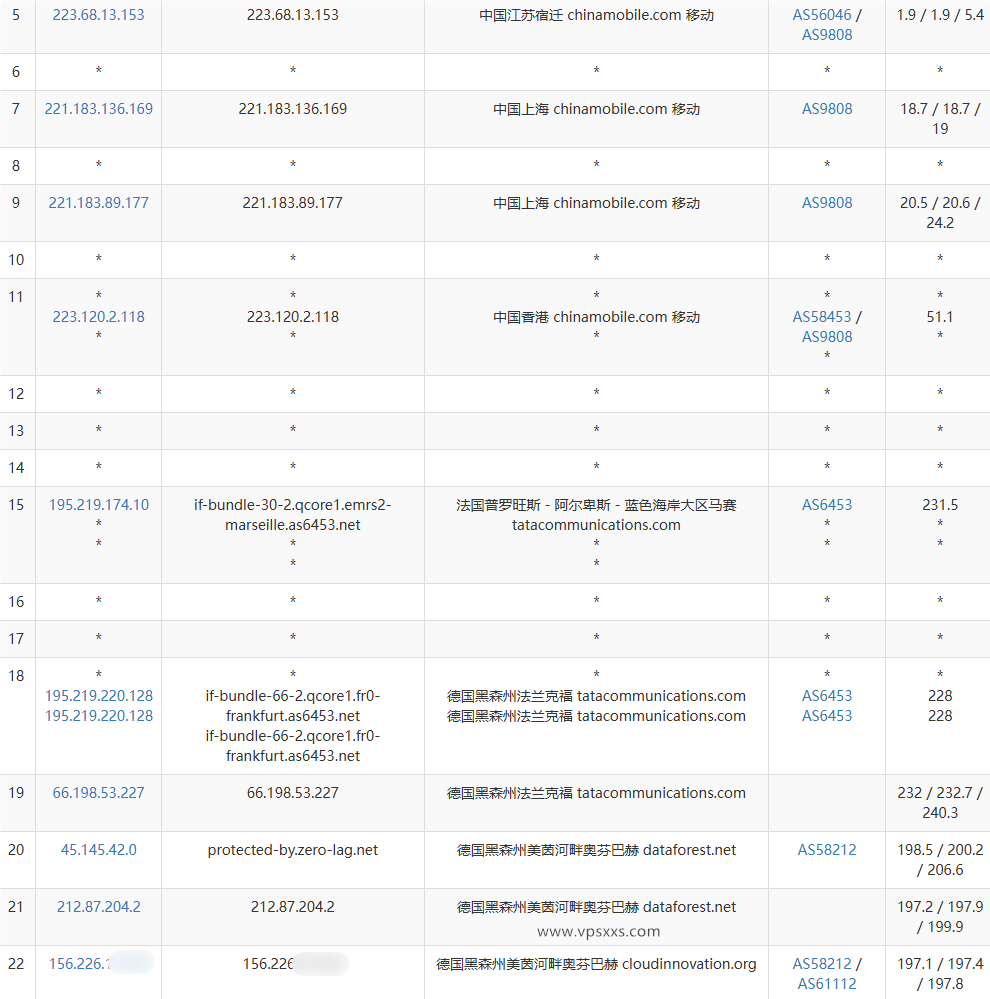
AkileCloud德国BGP VPS移动去程路由

AkileCloud德国BGP VPS移动回程路由
可以看到,AkileCloud德国BGP VPS电信去程先绕到美国然后到德国,回程还是绕到美国到德国;联通去程倒是直连,不过延迟也比较高,回程是从德国直连回程延迟较低;移动去程是直连德国延迟也比较低,回程大部分还是绕美国。单看路由的话联通往返直连最好,移动去程直连回程绕路,电信往返都绕路。

AkileCloud德国BGP VPS网络质量体检报告
从AkileCloud德国BGP VPS网络质量体检报告可以看到确实联通延迟最低,电信移动延迟都比较高,回程都是走各自普通线路,到同在欧洲的荷兰、英国机房延迟都很低。
AkileCloud德国BGP VPS看视频

AkileCloud德国BGP VPS是否原生IP检测

AkileCloud德国BGP VPS流媒体解锁能力测试
因为AkileCloud德国BGP VPS还是用的自己香港内置的DNS解锁,所以被判定是香港IP算是判断失误,应该就是普通的机房IP。不过能解锁香港Netflix、台湾Tiktok、德国人工智能平台和部分德国、欧洲流媒体,大家可以看下有没有自己需要的解锁能力。

AkileCloud德国BGP VPS ipinfo.io是否住宅IP检测

AkileCloud德国BGP VPS IP质量体检报告

AkileCloud德国BGP VPS ping0.cc是否家庭IP检测
AkileCloud德国BGP VPS在ipinfo.io检测出来两个type的值一个是“hosting”一个是“business”,不要想ISP的事情了。IP质量体检报告也认为是广播IP,而且看来是从非洲兄弟那里广播过来的,IP质量很一般,而且疑似已经送Z。ping0.cc也认为就是普通的广播IP。整体而言就是普通的广播IP,甚至IP质量有点差。

AkileCloud德国BGP VPS看youtube
VPS小学生本地是联通带宽,用AkileCloud德国BGP VPS看视频有18万+的速度,非常流程的看4K的清晰度。对于德国机房来说这速度非常猛了,看来10Gbps大带宽还是有用的,力大飞砖。不过根据之前路由测试只有联通往返直连,所以本地是电信带宽和移动带宽的朋友看视频速度估计就要慢一些了,不过就算速度打折的话看4K清晰度也是没问题的。
AkileCloud德国BGP VPS搭建网站

AkileCloud德国BGP VPS安装宝塔建站面板
AkileCloud德国BGP VPS在安装宝塔建站面板并配置默认的LNMP环境之后,占用了445M的内地和8GB的硬盘,建站大家建站的话尽量入手配置高一些的套餐。另外虽然只有一半线路到国内直连,不过毕竟是10Gbps大带宽,用来建站也是很合适的。
以上就是VPS小学生对AkileCloud德国BGP VPS的测评。可以看到AkileCloud德国BGP VPS硬件上CPU还行但是硬盘差了些。因为端口比较大下载速度很不错,上传速度内地也都超过300M了。路由上延迟比较高,联通往返直连,移动去程直连回程绕美国,电信往返都绕美国。流媒体解锁比较乱,算是解锁比较差了,不过看视频没广告(你懂的),而且联通看视频直接18万+速度,对于德国机房来说表现很优秀了。总之如果单纯用来看视频的话,联通用户是非常值得入手的,移动用户也可以一试,电信用户就要谨慎了。
AkileCloud最新促销活动:http://www.vpsxxs.com/tag/akilecloud/
以上就是VPS小学生和您分享的“AkileCloud德国BGP VPS测评:联通往返直连看视频18万+速度,适合联通用户,移动也可一用”,希望对大家有所帮助,如果大家还有什么问题的话,欢迎在下面评论留言,VPS小学生知无不言!

关注公众号VPSXXS














