StarryDNS新加坡VPS测评:新加坡原生IP,IP纯净度高,流媒体AI解锁优秀,25端口开放,看视频8万+速度,三网绕路延迟较高
站长:搬瓦工美国CN2 GIA/日本/荷兰等19个机房可随意切换,49.99美元/季,支持支付宝/Paypal
推荐:DMIT美国CN2 GIA,若被*每15天可以免费换一次IP,12.98美元/月,支持支付宝/Paypal StarryDNS已经两年多没搞过促销活动了,VPS小学生前几天看了下,StarryDNS之前的5折优惠码已经两年多了竟然还能用,而且还有目前很多商家都缺货的新加坡机房,并且带宽又免费升级了,升级到了300M,对于东南亚机房来说带宽算不错了,又支持支付宝和Paypal,购买也方便,这里VPS小学生就再测试下最低配StarryDNS新加坡VPS的性能供大家参考。
测评同款:1H1G 20GB SSD 1TB流量 5美元/月(优惠码AQB50),点此入手
测评同线路,全部300Mbps带宽,1个IPv4,价格为使用五折优惠码AQB50后的价格:
| CPU | 内存 | 硬盘 | 流量 | 价格 | 购买地址 |
| 1核 | 1G | 20GB | 1TB | 5美元/月 | 点此入手 |
| 2核 | 2G | 50GB | 1.5TB | 9.5美元/月 | 点此入手 |
| 2核 | 3G | 100GB | 2TB | 14美元/月 | 点此入手 |
| 4核 | 6G | 200GB | 3TB | 20美元/月 | 点此入手 |
StarryDNS最新促销活动:http://www.vpsxxs.com/tag/starrydns/
StarryDNS新加坡VPS硬件测试

StarryDNS新加坡VPS硬件测试
首先看一下StarryDNS新加坡VPS的硬件测试。CPU具体型号没读出来,只读出来是Intel的处理器,单核2.10GHz的频率。读出来991M的内存,还有2047M的虚拟内存,默认的虚拟内存不小啊。虚拟内存是从硬盘挪用的,所以硬盘只读出来18GB,硬盘平均读写速度743MB/s,硬盘读写速度还不错。硬件整体上CPU频率低了一些,但是内存硬盘给的量比较大,硬盘读写速度也还不错。可以看到是KVM虚拟化的,VPS小学生手动安装了原生BBR。
StarryDNS新加坡VPS网络测试

StarryDNS新加坡VPS到国内外上传下载速度测试
StarryDNS新加坡VPS到国内外下载速度不错,大部分节点都超过200M了,对于国内用户更重要的上传速度来说,内地节点上传速度都在150M以上,亚太节点都跑到230M以上,上传速度也不错。

StarryDNS新加坡VPS国内ping
StarryDNS新加坡VPS到国内的平均延迟233ms,这肯定是绕路了,也正常,这几年新加坡机房都没普通的直连线路了,要不是绕路,要不就是巨贵的CN2 GIA线路。来看看具体的三网路由:

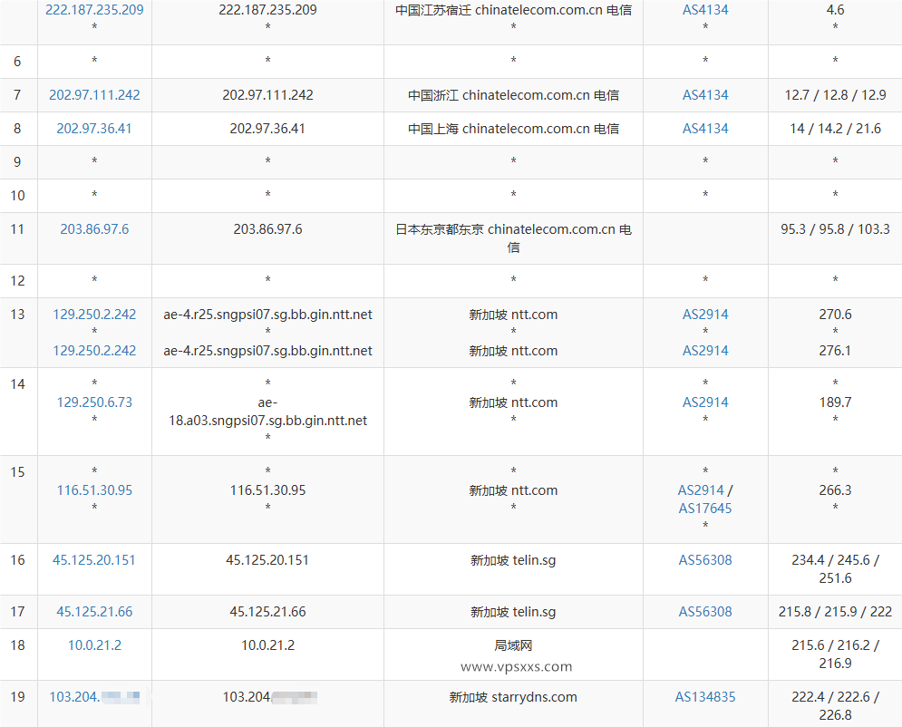
StarryDNS新加坡VPS电信去程路由

StarryDNS新加坡VPS电信回程路由

StarryDNS新加坡VPS联通去程路由

StarryDNS新加坡VPS联通回程路由

StarryDNS新加坡VPS移动去程路由

StarryDNS新加坡VPS移动回程路由
可以看到,StarryDNS新加坡VPS电信去程走NTT线路绕到日本到新加坡,按说绕的也不远,但是延迟很高,回程又绕日本美国回程,延迟自然很高;联通去程又绕到美国了,延迟还是很高,回程依然绕美国回程;移动去程依然绕美国,还经过日本才到新加坡,移动回程大部分节点是直连回程。等于只有移动回程部分节点直连,三网其他都是往返绕路,延迟都比较高。

StarryDNS新加坡VPS网络质量体检报告
从StarryDNS新加坡VPS网络质量体检报告可以看到三网去程延迟都很高,只有部分移动线路延迟比较低,三网回程都是走各自的普通线路,到其他海外机房都是正常的延迟。

StarryDNS新加坡VPS ping.pe丢包测试
从StarryDNS新加坡VPS在ping.pe的丢包测试可以看到,StarryDNS新加坡VPS在海外节点没有丢包,在国内节点也只有一个机房有丢包,绝大部分国内节点也都没有丢包,丢包率还是挺低的。
StarryDNS新加坡VPS看视频

StarryDNS新加坡VPS是否原生IP检测

StarryDNS新加坡VPS流媒体解锁能力测试
至少VPS小学生随机开通的这台StarryDNS新加坡VPS是新加坡原生IP,能原生解锁新加坡Tiktok、新加坡Netflix、新加坡人工智能平台和绝大部分新加坡流媒体,新加坡流媒体和新加坡AI平台解锁能力不错。

StarryDNS新加坡VPS ipip.la是否住宅IP检测

StarryDNS新加坡VPS IP质量体检报告

StarryDNS新加坡VPS ping0.cc是否家庭IP检测
ipip.la认为StarryDNS新加坡VPS是普通的IDC机房IP,不过是新加坡原生IP,IP欺诈值为0。IP质量体检报告所有数据库都认为是机房广播IP,同时所有数据库都认为IP纯净值非常高,流媒体解锁全绿,25端口开放,大部分邮箱通讯也正常。ping0.cc认为是双ISP,不过认为是IDC机房广播IP,IP纯净度一般。

StarryDNS新加坡VPS看youtube
VPS小学生本地是移动带宽,用StarryDNS新加坡VPS看视频有8万+的速度,非常流畅的看4K的清晰度。对于非优化线路东南亚机房来说算是在合格线上了,毕竟基本往返都绕路,能有这个速度不错了。根据之前路由测试,本地是电信带宽和联通带宽的朋友看视频速度估计会慢一些。
StarryDNS新加坡VPS搭建网站

StarryDNS新加坡VPS安装宝塔建站面板
这台最低配StarryDNS新加坡VPS在安装宝塔建站面板并配置默认的LNMP环境之后,还有649M内存的剩余,还有10GB硬盘的剩余,用来搭建个小网站资源是够用的,只是到国内往返都绕路,更适合面向东南亚用户建站使用。
以上就是VPS小学生对StarryDNS新加坡VPS的测评。可以看到StarryDNS新加坡VPS硬件性能还行,硬盘给的比较大,读写速度也不错。300M的带宽下载速度基本都超过200M,内地节点上传速度都超过150M了还不错。但是到国内的路由比较差,三网基本上都绕路了,移动延迟好一些,看视频有8万+的速度,能比较流畅的看4K的清晰度。大部分脚本都认为是新加坡原生IP,IP纯净度非常不错,而且25端口开放,大多数邮箱通讯也正常,ping0认为是双ISP,能安慰下ping0迷,StarryDNS没宣传过IP性质,能当伪家宽也不错了。总之,现在很多商家都取消了新加坡机房,如果想要廉价新加坡机房VPS用来看视频,想要干净的新加坡原生IP用来解锁流媒体、新加坡AI平台、或者能做邮件营销的新加坡服务器、想低成本运营新加坡Tiktok短视频的话,StarryDNS新加坡VPS还是值得入手一试的。
StarryDNS最新促销活动:http://www.vpsxxs.com/tag/starrydns/
以上就是VPS小学生和您分享的“StarryDNS新加坡VPS测评:新加坡原生IP,IP纯净度高,流媒体AI解锁优秀,25端口开放,看视频8万+速度,三网绕路延迟较高”,希望对大家有所帮助,如果大家还有什么问题的话,欢迎在下面评论留言,VPS小学生知无不言!

关注公众号VPSXXS














