vmrack美国原生云服务器测评:美国原生IP流媒体解锁好,电信往返直连延迟低
站长:搬瓦工美国CN2 GIA/日本/荷兰等19个机房可随意切换,49.99美元/季,支持支付宝/Paypal
推荐:DMIT美国CN2 GIA,若被*每15天可以免费换一次IP,12.98美元/月,支持支付宝/Paypal vmrack目前(2024年4月)只有美国机房,根据线路(或者说价格)分为三网精品CN2/9929/CMIN2(扩展阅读:vmrack美国三网精品VPS测评:单ISP原生IP,跑满带宽看视频20万+速度,电信CN2 GIA联通AS9929移动CMIN2延迟低)、三网优化163/10099/CMI(扩展阅读:vmrack美国三网优化线路VPS测评:美国原生IP纯净度极高,流媒体解锁全绿看视频12万+速度,三网回程强制AS10099+4837)、美国原生Cogent/Arelion,前两个套餐VPS小学生以前都测评过,最后这个是vmrack最便宜的套餐了,看商家介绍其实就是美国原生IP+国际线路,当然国际线路的意思就是不保证到中国直连了,好在美国国际线路一般到国内还都是直连的,vmrack支付宝、PayPal、USDT,国内用户购买也方便,也挺受国人用户欢迎的,精品线路卖光不说,VPS小学生测试机这种套餐最低配的L1.VPS.1C1G.Base也长期卖光,不过好在这个套餐都是5Gbps带宽,不影响测评。这里VPS小学生就测试下vmrack美国原生云服务器的性能供大家参考。
测评同线路活动特价套餐,5Gbps带宽,1个IPv4,第一款是测评同款:
| CPU | 内存 | 硬盘 | 流量 | 原价 | 购买地址 |
| 1核 | 1G | 20GB NVMe | 1TB | 18美元/年 | 点此入手 |
| 2核 | 2G | 40GB NVMe | 2TB | 29美元/年 | 点此入手 |
| 2核 | 4G | 60GB NVMe | 4TB | 46美元/年 | 点此入手 |
同线路常规款,可以月付,其实性价比也挺高的,也是5Gbps带宽,1个IPv4:
| CPU | 内存 | 硬盘 | 流量 | 原价 | 购买地址 |
| 2核 | 2G | 40GB NVMe | 2TB | 3.66美元/月 | 点此入手 |
| 2核 | 4G | 60GB NVMe | 4TB | 5.66美元/月 | 点此入手 |
| 4核 | 4G | 80GB NVMe | 8TB | 9.66美元/月 | 点此入手 |
| 4核 | 8G | 100GB NVMe | 16TB | 16.66美元/月 | 点此入手 |
| 8核 | 8G | 150GB NVMe | 30TB | 28.66美元/月 | 点此入手 |
| 8核 | 16G | 200GB NVMe | 40TB | 36.66美元/月 | 点此入手 |
vmrack最新促销活动:http://www.vpsxxs.com/tag/vmrack/
vmrack美国原生云服务器硬件测试

vmrack美国原生云服务器硬件测试
首先看一下vmrack美国原生云服务器的硬件测试。可以看到是用的AMD EPYC系列处理器,具体哪一款没读出来,读出来是单核2.60GHz的频率。读出来991M的内存,没有默认的虚拟内存。20GB硬盘都读出来了,硬盘平均读写速度339MB/S,硬盘性能一般。整体硬件性能还行,CPU不错,其他比较一般。可以看到是KVM虚拟化的,VPS小学生手动安装了原生BBR。
vmrack美国原生云服务器网络测试

vmrack美国原生云服务器到国内外上传下载速度测试
vmrack美国原生云服务器所有配置都是5Gbps的带宽,到国内外下载速度都在500M以上,电信节点甚至能到2G,下载速度很不错。对于国人用户更重要的上传速度来说,国内节点也都超过500M了,上传速度也不错,当然欧美机房上传速度都上G了,速度更好。

vmrack美国原生云服务器国内ping
vmrack美国原生云服务器到国内的平均延迟165ms,非常出乎意料啊,美国西部机房普通线路延迟不超过180ms就算是好的,vmrack美国原生云服务器这才165ms的延迟比很多商家的“美西优化线路”延迟还要低了,延迟非常好。来看看具体的三网路由:

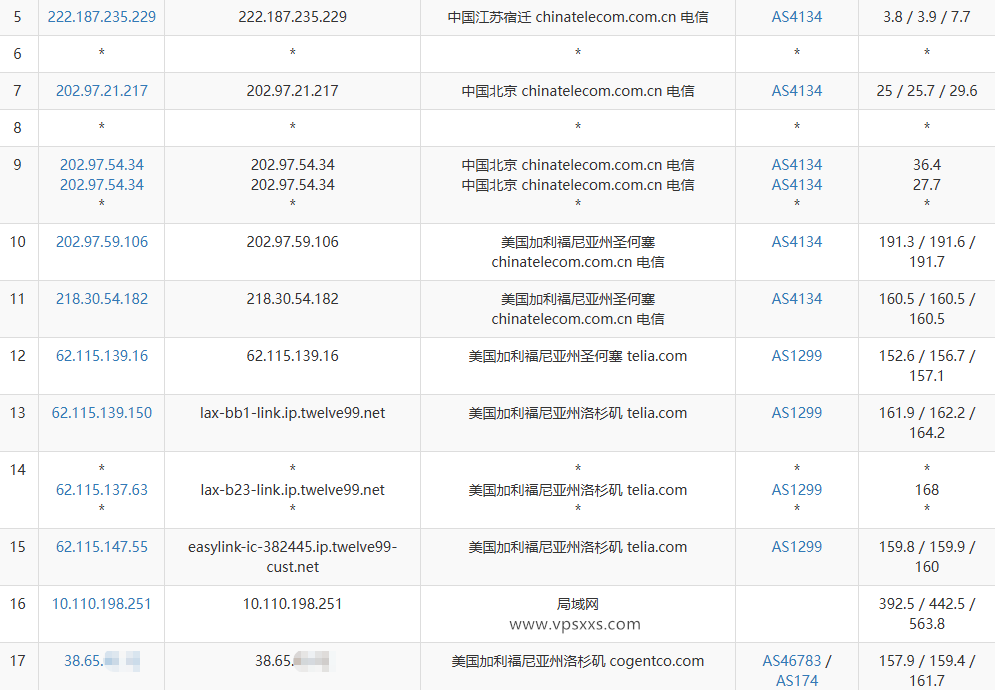
vmrack美国原生云服务器电信去程路由

vmrack美国原生云服务器电信回程路由

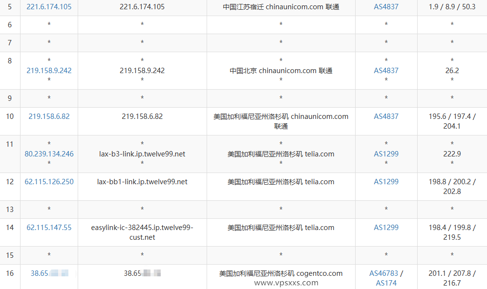
vmrack美国原生云服务器联通去程路由

vmrack美国原生云服务器联通回程路由

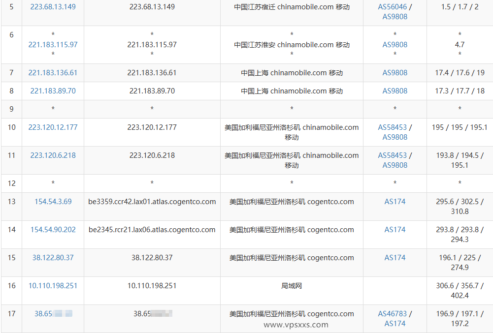
vmrack美国原生云服务器移动去程路由

vmrack美国原生云服务器移动回程路由
可以看到,vmrack美国原生云服务器电信去程经过圣何塞到洛杉矶,延迟挺低的,回程也是从美西机房直连回程,延迟更低;联通去程走AS4837线路到洛杉矶,延迟稍微高一些,回程大部分节点还是直连回程,但是延迟稍高;移动去程走CMI直连但是延迟高,回程还是走CMI直连回程延迟也低。等于三网往返直连,电信往返移动回程延迟低,联通往返移动去程延迟高。

vmrack美国原生云服务器网络质量体检报告
从vmrack美国原生云服务器网络质量体检报告可以看到电信去程延迟较低,联通移动去程延迟都稍微高一些。三网回程都是走各自最便宜的路由。到洛杉矶没延迟,到纽约才75ms的延迟,其实可以用来中转美国家宽落地机。

vmrack美国原生云服务器ping.pe丢包测试
vmrack美国原生云服务器丢包测试测试结果挺好的,不管是到美国、其他国外机房,还是到亚洲机房、国内机房基本都没有丢包。
vmrack美国原生云服务器看视频

vmrack美国原生云服务器是否原生IP检测

vmrack美国原生云服务器流媒体解锁能力测试
至少VPS小学生随机开通的这台vmrack美国原生云服务器是美国原生IP,能原生解锁美国Tiktok、美国Netflix、部分美国人工智能平台和大部分美区流媒体,大家可以看下有没有自己需要的解锁能力。

vmrack美国原生云服务器pingip.cn是否住宅IP检测

vmrack美国原生云服务器IP质量体检报告

vmrack美国原生云服务器ping0.cc是否家庭IP检测
vmrack美国原生云服务器在pingip.cn检测出来是IDC和商业带宽,也是美国原生IP,IP风险极低。IP质量体检报告也认为是美国原生IP,部分数据库认为是商家或者家宽IP,也有认为是机房IP的,大部分数据库都认为IP低风险,流媒体解锁全绿。ping0.cc认为就是普通的IDC机房IP,不过是美国原生IP,IP纯净度一般。看来至少确实如商家所言是美国原生IP无疑了。

vmrack美国原生云服务器看youtube
VPS小学生本地是联通带宽,用vmrack美国原生云服务器看视频有6万+的速度,比较流畅的看4K的清晰度,但是这个速度对于美国西部机房来说算是比较慢的了,就算是普通线路也应该有10万左右的。不过之前测试就联通路由最差,如果本地是移动带宽的朋友看视频速度会好一些,当然如果本地是电信带宽的话看视频速度应该会更快。
vmrack美国原生云服务器搭建网站

vmrack美国原生云服务器安装宝塔建站面板
这台最低配vmrack美国原生云服务器在安装宝塔建站面板并配置默认的LNMP环境之后,还有527M内存的剩余,还有14GB硬盘的剩余,用来搭建个小网站资源还是够用的。而且三网往返直连延迟也低,适合低成本美国机房建站使用。
以上就是VPS小学生对vmrack美国原生云服务器的测评。可以看到vmrack美国原生云服务器硬件上CPU还不错,其他一般。到国内的延迟非常低是优势,特别是电信往返延迟都很低,但是看联通看视频只有6万+的速度,对于美国西部机房来说算是速度慢的了。不过确实如商家所言是美国原生IP,美国流媒体解锁很优异。总之,如果有美国流媒体解锁需求,用来搭建网站,或者电信用户用来看视频的话,vmrack美国原生云服务器还是值得入手一试的。
vmrack最新促销活动:http://www.vpsxxs.com/tag/vmrack/
以上就是VPS小学生和您分享的“vmrack美国原生云服务器测评:美国原生IP流媒体解锁好,电信往返直连延迟低”,希望对大家有所帮助,如果大家还有什么问题的话,欢迎在下面评论留言,VPS小学生知无不言!

关注公众号VPSXXS













