WePC泰国TikTok专用VPS测评:单ISP泰国原生IP,看视频9万+速度,适合移动联通用户,流媒体解锁优秀,25端口开放几乎所有邮箱通讯正常
站长:搬瓦工美国CN2 GIA/日本/荷兰等19个机房可随意切换,49.99美元/季,支持支付宝/Paypal
推荐:DMIT美国CN2 GIA,每15天可以免费换一次IP(被 * ),9.99美元/月,支持支付宝/Paypal WePC全球TikTok VPS套餐中有一款“泰国TikTok专用”服务器,在WePC产品介绍页说是“泰国原生家宽IPv4、TIKTOK视频/直播、电信需中转、联通移动稳定”,WePC老板说“IP检测可以参考pingip.cn,任何网站检测结果均不影响TK业务推流”。VPS小学生记得另外一个商家老板说泰国机房光国际线路带宽就18美元/1M了,所以WePC泰国TikTok专用VPS这50M带宽已经很大了,对于做东南亚Tiktok运营的朋友来说WePC泰国TikTok专用VPS价格已经算低的了。这次VPS小学生就再测试下WePC泰国TikTok专用VPS的性能供大家参考。
WePC优惠码WePCMON90 9折优惠,月付/季付可用(台湾新加坡及美国家宽系列无效)
WePC优惠码WePCYEAR80 8折优惠,年付可用(台湾新加坡及美国家宽系列无效)
测评同款配置:2核CPU、512MB DDR4内存、10GB SSD硬盘、1TB双向流量、50Mbps带宽、1个IPv4、22.41澳元/月(优惠码WePCMON90),65.43澳元/季(优惠码WePCMON90),239.04澳元/年(优惠码WePCYEAR80),支持支付宝/Paypal,点此入手
WePC全球TikTok_VPS其他机房,点此入手
WePC最新促销活动:http://www.vpsxxs.com/tag/wepc/
WePC泰国TikTok专用VPS硬件测试

WePC泰国TikTok专用VPS硬件测试
首先看一下WePC泰国TikTok专用VPS的硬件测试。处理器用的是Xeon Gold 6138 ,单核2.00GHz的频率,处理器还不错。读出来487M的内存,没有默认的虚拟内存。10GB硬盘都读出来了,硬盘平均读写速度148MB/s,硬盘有点硬。硬件整体性能一般,CPU还不错。可以看到是KVM虚拟化的,VPS小学生手动安装了原生BBR。
WePC泰国TikTok专用VPS网络测试

WePC泰国TikTok专用VPS到国内外上传下载速度测试
WePC泰国TikTok专用VPS到国内外上传下载速度还不错啊,不管国内外大部分节点上传下载速度基本都跑满带宽了。对于国内用户更重要的上传速度来说,只有电信线路上传没速度,其他国内外节点都跑到45M以上了,带宽给的还是比较充裕的。

WePC泰国TikTok专用VPS国内ping
WePC泰国TikTok专用VPS到国内的延迟216ms,对于泰国机房来说算是延迟低的了,因为国内到泰国基本都绕路,来看看具体的三网路由看绕的厉害不厉害吧:

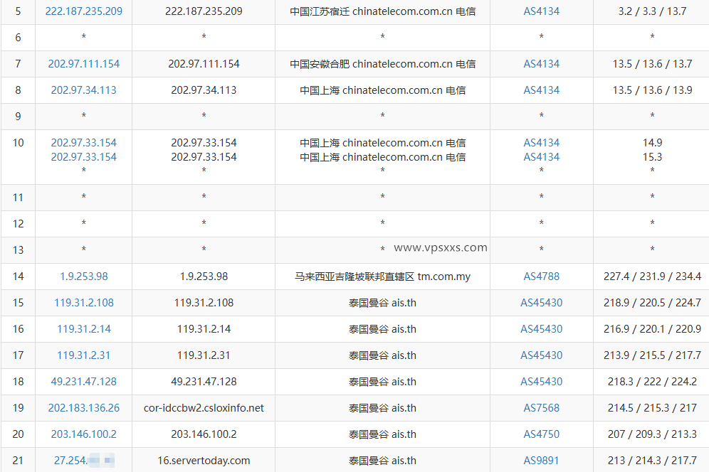
WePC泰国TikTok专用VPS电信去程路由

WePC泰国TikTok专用VPS电信回程路由

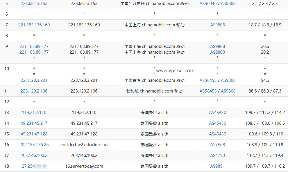
WePC泰国TikTok专用VPS联通去程路由

WePC泰国TikTok专用VPS联通回程路由

WePC泰国TikTok专用VPS移动去程路由

WePC泰国TikTok专用VPS移动回程路由
可以看到,WePC泰国TikTok专用VPS电信去程先到马来西亚然后到曼谷,按说都在东南亚机房应该算直连,但是到马来西亚延迟超高,应该还是绕路了,回程大部分节点都绕欧洲或者美国,延迟也很高,不过广州电信是直连回程;联通去程经过新加坡直连,延迟比较低,回程又是绕美国了,延迟比较高;移动去程也是经过新加坡直连,延迟最低,回程还是经过新加坡直连,延迟非常低。等于移动往返直连延迟还低,联通去程直连,剩下大多都绕路了,单看路由的话适合本地是移动带宽的朋友。

WePC泰国TikTok专用VPS网络质量体检报告
从WePC泰国TikTok专用VPS网络质量体检报告能看到电信去程延迟很高,联通移动去程延迟就比较低了。回程三网都是走各自最便宜的路由。到新加坡、香港机房延迟比较低,适合用这两个机房中转。

WePC泰国TikTok专用VPS ping.pe丢包测试
WePC泰国TikTok专用VPS到美国部分机房有丢包,到国内的不少机房也有明显的丢包,丢包情况一般啊。
WePC泰国TikTok专用VPS看视频

WePC泰国TikTok专用VPS是否原生IP检测

WePC泰国TikTok专用VPS流媒体解锁能力测试
至少VPS小学生随机开通的这台WePC泰国TikTok专用VPS是泰国原生IP,能原生解锁泰国Tiktok、泰国Netflix、泰国人工智能平台和所有泰国本土流媒体,流媒体解锁能力优秀。

WePC泰国TikTok专用VPS pingip.cn是否住宅IP检测

WePC泰国TikTok专用VPS IP质量体检报告

WePC泰国TikTok专用VPS ping0.cc是否家庭IP检测
pingip.cn认为WePC泰国TikTok专用VPS是商业带宽,不过认为是家庭带宽IP,同时认为是泰国原生IP。IP质量体检报告也认为是泰国原生IP,不过有一部分数据库认为是家宽IP,有一部分认为是机房IP,IP纯净度一般。不够比较意外的是25端口可用,几乎所有邮箱通讯都正常,邮件营销爱好者狂喜啊。ping0.cc认为是单ISP+商业IP,认为是IDC机房IP,不过是泰国原生IP,IP纯净度比较高。看来是泰国原生IP都毫无疑问,当做是单ISP的话也是可以的,做Tiktok运营可以了。

WePC泰国TikTok专用VPS看youtube
VPS小学生本地是联通带宽,用WePC泰国TikTok专用VPS看视频有9万+的速度,非常流畅的看4K的清晰度。泰国机房看视频能有这个速度非常不错了,根据之前路由测试,本地是移动带宽的朋友看视频速度应该会更快,本地是电信带宽的朋友速度就不行了。
以上就是VPS小学生对WePC泰国TikTok专用VPS的测评。可以看到WePC泰国TikTok专用VPS硬件上CPU还不错,其他硬件比较差。到国内外基本都能跑满50M带宽很不错。路由上,移动往返直连延迟还低,联通去程直连,剩余都绕美国或者欧洲,直连的话大多也经过新加坡机房。看视频有9万+的速度非常流畅的看4K的清晰度,对于东南亚机房来说速度算比较快了。大部分数据库认为是泰国单ISP原生IP,IP纯净度还行,比较意外的是25端口开放,而且几乎所有邮箱都通讯正常,流媒体解锁能力也非常优秀。总之如果想做泰国Tiktok短视频外贸、看泰国流媒体、做泰国电子邮件营销的话,WePC泰国TikTok专用VPS还是非常值得本地是移动带宽和联通带宽的朋友入手的。
WePC最新促销活动:http://www.vpsxxs.com/tag/wepc/
以上就是VPS小学生和您分享的“WePC泰国TikTok专用VPS测评:单ISP泰国原生IP,看视频9万+速度,适合移动联通用户,流媒体解锁优秀,25端口开放几乎所有邮箱通讯正常”,希望对大家有所帮助,如果大家还有什么问题的话,欢迎在下面评论留言,VPS小学生知无不言!

关注公众号VPSXXS














