荫云西班牙双ISP VPS测评:西班牙原生家庭IP,25端口开放,适合TK/外贸/邮件营销,Tiktok直播需中转
站长:搬瓦工美国CN2 GIA/日本/荷兰等19个机房可随意切换,49.99美元/季,支持支付宝/Paypal
推荐:DMIT美国CN2 GIA,若被*每15天可以免费换一次IP,12.98美元/月,支持支付宝/Paypal 荫云在欧洲已经有英国双ISP、德国双ISP、法国双ISP了,这次又上线更冷门的西班牙双ISP VPS,和其他欧洲机房一样1个双ISP的IPv4、国际线路、仅Linux系统、最低500Mbps带宽,可用VPS小学生博客专属自动最大优惠码。VPS小学生知道很多做西欧Tiktok、南美Tiktok运营的朋友都想要西班牙双ISP VPS,荫云主营全球双ISP VPS,支持支付宝、Stripe、USDT,购买也方便。这里VPS小学生就测试下最低配500Mbps带宽的荫云西班牙双ISP VPS的性能供大家参考。
测评同款:8.4美元/月(优惠码vpsxxs),点此入手
测评同系列荫云西班牙双ISP VPS,全部1个双ISP IP,记得使用优惠码vpsxxs
| CPU | 内存 | 硬盘 | 流量 | 带宽 | 优惠价 | 购买地址 |
| 1核 | 1G | 10GB SSD | 1000GB | 500Mbps | 8.4美元/月 | 点此入手 |
| 2核 | 2G | 15GB SSD | 2000GB | 600Mbps | 10.5美元/月 | 点此入手 |
| 4核 | 4G | 30GB SSD | 3000GB | 700Mbps | 24.5美元/月 | 点此入手 |
| 8核 | 8G | 50GB SSD | 5000GB | 1Gbps | 31.5美元/月 | 点此入手 |
荫云最新促销活动:http://www.vpsxxs.com/tag/yinyun/
荫云西班牙双ISP VPS硬件测试

荫云西班牙双ISP VPS硬件测试
首先看一下荫云西班牙双ISP VPS的硬件测试。CPU具体型号没读出来,读出来是Intel系列处理器,单核2.60GHz的频率,单看处理器频率的话性能一般,跟其他荫云欧洲机房应该是用的同款处理器。读出来971M的内存,虚拟内存是后台安装操作系统的时候默认的512M。读出来9.9GB的硬盘,硬盘平均读写速度301MB/S,读写速度还行。硬件整体性能普普通通,可以看到是KVM虚拟化的,VPS小学生手动安装了原生BBR。
荫云西班牙双ISP VPS网络测试

荫云西班牙双ISP VPS到国内外上传下载速度测试
可以看到,这台最低配500Mbps带宽的荫云西班牙双ISP VPS到国内外下载速度基本都跑到400M以上了,对国人用户更重要的上传速度来说,国内节点都超过了300M,海外节点跑满带宽的也不少,香港节点美国节点甚至跑到500M以上,对于西班牙这个地理位置来说这上传下载速度非常优秀了。

荫云西班牙双ISP VPS国内ping
荫云西班牙双ISP VPS到国内的平均延迟263ms,属于普通的欧洲机房延迟,没法跟英国或者德国那种有优化线路的机房相比。来看看具体的三网路由:

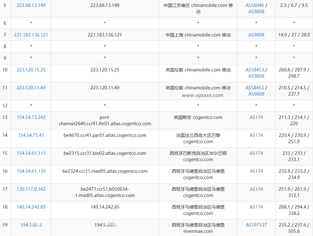
荫云西班牙双ISP VPS电信去程路由

荫云西班牙双ISP VPS电信回程路由

荫云西班牙双ISP VPS联通去程路由

荫云西班牙双ISP VPS联通回程路由

荫云西班牙双ISP VPS移动去程路由

荫云西班牙双ISP VPS移动回程路由
可以看到,荫云西班牙双ISP VPS电信去程先到美国西部的圣何塞,然后穿越美洲大陆到英国,然后到法国,最后到西班牙,其实延迟还行,回程是经过欧洲的法国德国机房回程,算是直连回程;联通去程又绕到美国,延迟也高,回程大多是经过欧洲机房直连回程;移动去程经过同在欧洲的英国机房算是直连,回程还是经过英国机房直连。等于三网回程直连,电信联通去程绕美国。

荫云西班牙双ISP VPS网络质量体检报告
从荫云西班牙双ISP VPS网络质量体检报告能看到三网去程延迟都比较高,回程也都是走各自最便宜的线路,到同在欧洲的法国、英国、荷兰机房延迟都挺低的,延迟基本在25ms左右,适合用欧洲优化线路中转,或者直接用香港机房中转。

荫云西班牙双ISP VPS ping.pe丢包测试
从ping.pe检测结果能看到荫云西班牙双ISP VPS不管是到国内还是到海外机房基本都没有丢包,丢包率还是很低的,这点很不错,当然也可能是因为冷门机房丢包本来就少。
荫云西班牙双ISP VPS看视频

荫云西班牙双ISP VPS是否原生IP检测

荫云西班牙双ISP VPS流媒体解锁能力测试
至少VPS小学生随机开通的这台荫云西班牙双ISP VPS是西班牙原生IP,能原生解锁西班牙Tiktok、西班牙Netflix和西班牙本土流媒体,人工智能平台是解锁美国和新加坡区域,大家可以看下有没有自己需要的解锁能力。

荫云西班牙双ISP VPS pingip.cn是否住宅IP检测

荫云西班牙双ISP VPS IP质量体检报告

荫云西班牙双ISP VPS ping0.cc是否家庭IP检测
荫云西班牙双ISP VPS在pingip.cn检测出来是双ISP家庭带宽IP,不过认为是广播IP,IP风险值低。IP质量体检报告认为是西班牙原生IP,大部分数据库认为是家宽IP,只有IP2Loation认为IP是高风险,其他数据库都认为IP是低风险。流媒体解锁全绿,并且25端口开放,几乎国内外所有邮箱都能正常通讯,这点很厉害,做邮件营销的狂喜。ping0.cc也认为是双ISP家庭带宽IP,也认为是原生IP,IP有轻微风险。

荫云西班牙双ISP VPS看youtube
VPS小学生本地是移动带宽,用荫云西班牙双ISP VPS看视频有4万+的速度,勉强能看4K的清晰度。之前测试就移动往返直连,看视频也才这个速度,本地是电信带宽和联通带宽的朋友看视频估计速度更慢了。因为地理位置的原因,用西班牙机房看视频确实不讨好。
荫云西班牙双ISP VPS搭建网站

荫云西班牙双ISP VPS安装宝塔建站面板
这台最低配荫云西班牙双ISP VPS在安装宝塔建站面板并配置默认的LNMP环境之后,还有531M的内存的剩余,还有4GB硬盘的剩余,搭建个小网站资源是够用的,当然真用于生产环境建站的话最好还是用配置更高的套餐。因为是西班牙家庭IP,更适合面向欧美用户搭建外贸网站使用。
以上就是VPS小学生对荫云西班牙双ISP VPS的测评。可以看到荫云西班牙双ISP VPS的硬件性能中规中矩,下载速度基本都跑到400M,上传速度内地节点都跑到300M以上速度还不错。不过因为地理位置的原因,到国内的延迟较高,导致看视频速度也比较慢。不过确实是西班牙双ISP原生IP,而且所有数据库都认为是西班牙家庭IP,非常适合做西班牙Tiktok运营的朋友,只是如果做Tiktok短视频切片的话可以直接使用,做西班牙Tiktok直播的话,最好还是用欧洲优化线路机房,或者香港直连线路机房中转一下更合适。另外荫云西班牙双ISP VPS的25端口开放,几乎所有邮箱通讯也正常,很适合做邮件营销。总之,荫云西班牙双ISP VPS单纯用来看视频速度不行,但是如果是有面向欧洲或者南美做外贸网站、做电子邮件营销、需要西欧家庭IP做Tiktok短视频运营、欧洲Tiktok直播(需中转)的话,荫云西班牙双ISP VPS还是非常值得入手的。
荫云最新促销活动:http://www.vpsxxs.com/tag/yinyun/
以上就是VPS小学生和您分享的“荫云西班牙双ISP VPS测评:西班牙原生家庭IP,25端口开放,适合TK/外贸/邮件营销,Tiktok直播需中转”,希望对大家有所帮助,如果大家还有什么问题的话,欢迎在下面评论留言,VPS小学生知无不言!

关注公众号VPSXXS














