WePC台湾TikTok直播专用VPS测评:看视频15万+速度,台湾原生IP,IP纯净度高,电信移动直连联通绕日本
站长:搬瓦工美国CN2 GIA/日本/荷兰等19个机房可随意切换,49.99美元/季,支持支付宝/Paypal
推荐:DMIT美国CN2 GIA,若被*每15天可以免费换一次IP,48.88美元/半年,支持支付宝/Paypal 因为总所周知的原因,前几天几乎所有商家的IEPL专线基本上全军覆没,所以WePC推出了台湾中转机,替代IEPL专线给自己的老用户使用。WePC台湾中转机在产品介绍页说是“三网优化,电信移动直连,少数地区移动略差,联通绕日不丢包,但是上传不太行”,这个套餐跟WePC“全球TikTok_VPS”系列中的“台湾TikTok直播专用”其实是一个套餐,只是流量多了500GB。台湾机房能开口说当做中转机看来线路应该不错,WePC支持支付宝和Paypal,国内用户也不少,这里VPS小学生就测试下WePC台湾TikTok直播专用VPS的性能供大家参考。
测评同款:2核512M、10GB SSD、1.5TB流量、200Mbps带宽、1个IPv4、18.9澳元/月,点此入手
台湾中转机 (替代IEPL),2TB月流量,24.9澳元/月,点此入手
WePC全球TikTok_VPS其他机房,点此入手
注意,WePC中国台湾机房无法使用优惠码,其他系列可以使用如下优惠码:
WePC优惠码WePCMON90 9折优惠,月付/季付可用(台湾新加坡及美国家宽系列无效)
WePC优惠码WePCYEAR80 8折优惠,年付可用(台湾新加坡及美国家宽系列无效)
WePC最新促销活动:http://www.vpsxxs.com/tag/wepc/
WePC台湾TikTok直播专用VPS硬件测试

WePC台湾TikTok直播专用VPS硬件测试
首先看一下WePC台湾TikTok直播专用VPS的硬件测试。可以看到是用的E5-2683v4处理器,双核2.10GHz的频率。读出来487M的内存,没有默认的虚拟内存。10GB硬盘都读出来了,硬盘平均读写速度162MB/s,读写性能一般。硬件整体性能一般,可以看到是KVM虚拟化的,VPS小学生手动安装了原生BBR。
WePC台湾TikTok直播专用VPS网络测试

WePC台湾TikTok直播专用VPS到国内外上传下载速度测试
WePC台湾TikTok直播专用VPS是200Mbps带宽,到国内外下载速度基本都能跑到190M,对中国用户更重要的上传速度来说,大多数内地和港台、亚洲机房都跑到180M以上了,上传速度还是不错的。

WePC台湾TikTok直播专用VPS到内地的延迟速度测试
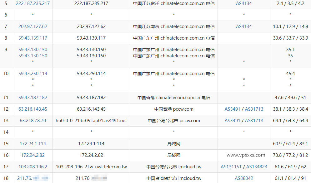
WePC台湾TikTok直播专用VPS到内地的延迟的平均延迟154ms,对于台湾机房来说延迟还行,但是肯定不是三网直连了,要不然延迟会更低。来看看具体的三网路由测试:

WePC台湾TikTok直播专用VPS电信去程路由

WePC台湾TikTok直播专用VPS电信回程路由

WePC台湾TikTok直播专用VPS联通去程路由

WePC台湾TikTok直播专用VPS联通回程路由

WePC台湾TikTok直播专用VPS移动去程路由

WePC台湾TikTok直播专用VPS移动回程路由
可以看到,WePC台湾TikTok直播专用VPS电信去程从香港直连台湾,延迟非常低,回程大部分节点小绕了一下日本,延迟还算比较低;联通去程绕日本到台湾,延迟就高一些了,回程大部分直连延迟还低,不过也有绕美国延迟高的;移动去程也是经过香港直连,延迟比较低,回程大部分节点都是经过香港直连回程,延迟超低。等于大部分电信移动线路是往返直连,联通基本往返绕日本,延迟其实也不算太高。

WePC台湾TikTok直播专用VPS网络质量体检报告
从WePC台湾TikTok直播专用VPS网络质量体检报告能看到去程电信联通延迟稍高,移动延迟最低。回程基本都走自己最便宜的线路,部分电信回程走联通10099这种半优化线路。到香港、东京、新加坡的延迟都比较低,可以用来中转这些机房的家宽落地机。

WePC台湾TikTok直播专用VPS ping.pe丢包测试
从ping.pe丢包测试可以看到WePC台湾TikTok直播专用VPS到国外机房基本没有丢包的,到内地机房还是有部分机房有比较明显的丢包情况。
WePC台湾TikTok直播专用VPS看视频

WePC台湾TikTok直播专用VPS是否原生IP检测

WePC台湾TikTok直播专用VPS流媒体解锁能力测试
至少VPS小学生的这台WePC台湾TikTok直播专用VPS是台湾原生IP,能原生解锁台湾Tiktok、台湾Netflix、台湾人工智能平台和大多数台区流媒体,大家可以看下有没有自己需要的解锁能力。

WePC台湾TikTok直播专用VPS pingip.cn是否住宅IP检测

WePC台湾TikTok直播专用VPS IP质量体检报告

WePC台湾TikTok直播专用VPS ping0.cc是否家庭IP检测
WePC台湾TikTok直播专用VPS在pingip.cn检测出来是IDC机房IP,不过是台湾原生IP,IP风险值低。IP质量体检报告所有数据库也都认为是机房IP,不过同时也认为是原生IP,所有数据库认为风险值极低,流媒体解锁全绿。ping0.cc也认为是IDC机房IP,不过同样认为是原生IP,并且IP很纯净。看来是台湾原生IP,并且IP纯净度也很高,但是并不是ISP的IP。

WePC台湾TikTok直播专用VPS看youtube
VPS小学生本地是联通带宽,用WePC台湾TikTok直播专用VPS看视频有15万+的速度,非常流畅的看4K的清晰度。台湾机房看视频有这个速度非常快了。而且根据之前测评,电信和移动路由延迟要比联通好一些,所以本地是电信带宽和移动带宽的朋友看视频速度估计会更快一些。
以上就是VPS小学生对WePC台湾TikTok直播专用VPS的测评。可以看到WePC台湾TikTok直播专用VPS的硬件性能一般,只是当做落地机或者中转机不拖后腿而已。下载速度基本跑满带宽,上传速度基本都在180M以上,带宽给的比较充裕。到内地的延迟也还比较低,电信移动往返直连,特别是移动延迟最低,联通往返绕日本延迟稍微高一些,但是联通看视频都能15万+的速度非常流畅的看4K的清晰度了,用来看视频或者当中转机速度确实不错。只是如果做台湾Tiktok运营的话,WePC台湾TikTok直播专用VPS检测出来是台湾原生IP,IP纯净度也很高,但是并不是台湾双ISP或者家宽IP,如果对落地机要求很高的话就不太行了。总之,WePC台湾TikTok直播专用VPS到内地三网速度都非常快,非常适合用来中转东南亚机房的家宽落地机做Tiktok直播,用来做台湾TikTok直播运营的话原生IP+IP纯净度高其实也够用了,只是如果要求特别高的话,最好还是用双ISP台湾VPS更合适。
WePC最新促销活动:http://www.vpsxxs.com/tag/wepc/
以上就是VPS小学生和您分享的“WePC台湾TikTok直播专用VPS测评:看视频15万+速度,台湾原生IP,IP纯净度高,电信移动直连联通绕日本”,希望对大家有所帮助,如果大家还有什么问题的话,欢迎在下面评论留言,VPS小学生知无不言!

关注公众号VPSXXS














