华纳云香港轻量国际线路云服务器测评:香港原生IP流媒体解锁好,三网绕路看视频12万+速度,适合移动用户
站长:搬瓦工美国CN2 GIA/日本/荷兰等19个机房可随意切换,49.99美元/季,支持支付宝/Paypal
推荐:DMIT美国CN2 GIA,每15天可以免费换一次IP(被 * ),9.99美元/月,支持支付宝/Paypal 五年前(2021年)VPS小学生就测评过华纳云的香港机房(华纳云香港云服务器测评:电信CN2 GIA,三网往返直连,带宽充裕,可选多种Windows操作系统),前几天华纳云在香港上线了轻量云套餐,特点就是大带宽,其中回国优化线路是200M带宽,VPS小学生也测评过了(华纳云香港轻量云服务器测评:双ISP香港原生IP,三网往返直连移动回程CMIN2,跑满200M带宽看视频11万+速度),华纳云香港轻量云服务器另外还有500M国际线路带宽,流量更多一些,价钱还便宜一些。当然既然说是“国际线路”,翻译过来大概率就是绕路呗,因为年付性价比挺高的,支持支付宝、银联卡、Paypal,还可选Windows7/10/2022等简体中文操作系统,VPS小学生这里就再测试下最低配500M带宽的华纳云香港轻量国际线路云服务器的性能供大家参考。
测评同款配置:1核CPU、1G内存、50GB硬盘、1000GB月流量、500Mbps带宽、1个IPv4、280元/年,点此入手
华纳云最新促销活动:http://www.vpsxxs.com/tag/huanayun/
华纳云香港轻量国际线路云服务器硬件测试

华纳云香港轻量国际线路云服务器硬件测试
可以看到,华纳云香港轻量国际线路云服务器用的是E5-2680v3处理器,单核2.50GHz的频率。读出来991M的内存,没有默认的虚拟内存。50GB硬盘都读出来了,硬盘平均读写速度315MB/s,硬盘I/O还行。整体硬件就是普普通通的那种,硬盘给的比较大很不错。可以看到是KVM虚拟化的,VPS小学生手动安装了原生BBR。
华纳云香港轻量国际线路云服务器网络测试

华纳云香港轻量国际线路云服务器到国内外上传下载速度测试
可以看到,华纳云香港轻量国际线路云服务器不管在内地还是港台还是亚太还是欧美,上传下载速度基本都跑到450M左右了,上传下载速度给的还是比较充裕的,尤其是对国内用户更重要的上传速度来说,都跑到400M以上对于香港机房来说速度很快了。

华纳云香港轻量国际线路云服务器到内地的延迟速度测试
华纳云香港轻量国际线路云服务器到内地的平均延迟220ms,这肯定是绕路了,不过既然是国际线路绕路也有心里准备,介意这个延迟的话就选华纳云香港轻量内地优化线路就可以了,之前VPS小学生测试的时候延迟才73ms。来看看具体的三网路由:

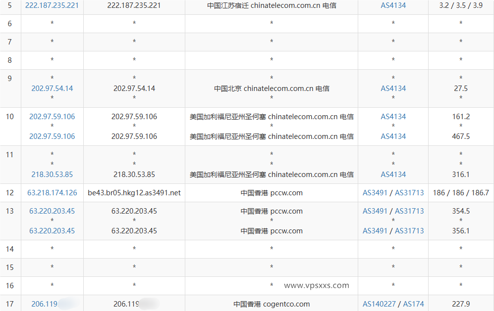
华纳云香港轻量国际线路云服务器电信去程路由

华纳云香港轻量国际线路云服务器电信回程路由

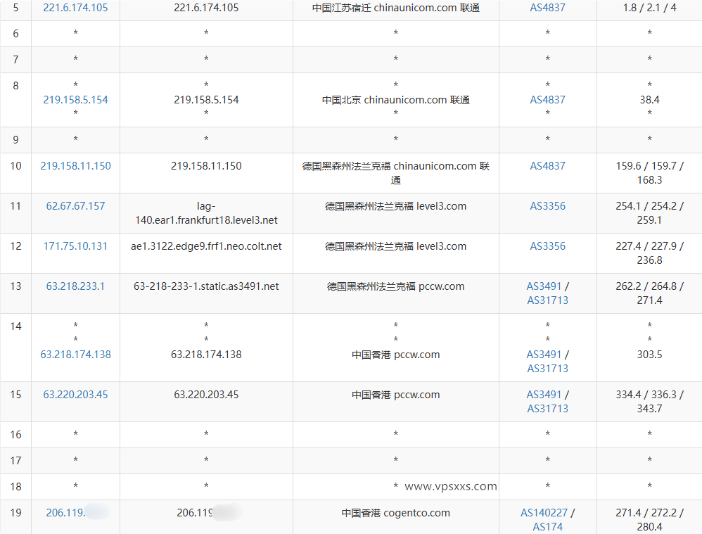
华纳云香港轻量国际线路云服务器联通去程路由

华纳云香港轻量国际线路云服务器联通回程路由

华纳云香港轻量国际线路云服务器移动去程路由

华纳云香港轻量国际线路云服务器移动回程路由
可以看到,华纳云香港轻量国际线路云服务器电信去程绕到美国,然后到香港,回程是绕到日本然后到香港;联通去程是绕到德国然后到香港,回程还是绕到日本然后到香港;移动去程绕到日本然后到香港,回程还是绕日本回程。等于三网都往返绕路,三网回程都绕日本,去程绕美国德国日本,移动路由稍微好点。回程绕日本算小绕路,其实还算比较适合内地用户。

华纳云香港轻量国际线路云服务器网络质量体检报告
从华纳云香港轻量国际线路云服务器网络质量体检报告能看到电信联通延迟都比较高,移动延迟要好很多,三网回程也都是走各自的普通线路。在香港本地机房基本没延迟,到日本延迟也低,到其他海外机房延迟其实也挺低的,但是到新加坡机房延迟很高。
华纳云香港轻量国际线路云服务器看视频

华纳云香港轻量国际线路云服务器是否原生IP检测

华纳云香港轻量国际线路云服务器流媒体解锁能力测试
至少VPS小学生随机开通的这台华纳云香港轻量国际线路云服务器是香港原生IP,能原生解锁香港Netflix、香港Disney+和部分港区流媒体,大家可以看下有没有自己需要的解锁能力。

华纳云香港轻量国际线路云服务器ipdata.co是否住宅IP检测

华纳云香港轻量国际线路云服务器IP质量体检报告

华纳云香港轻量国际线路云服务器ping0.cc是否家庭IP检测
华纳云香港轻量国际线路云服务器在ipdata.co检测出来两个type的值都是“business”,这里检测是商业带宽IP。IP质量体检报告部分脚本认为是商家,也有认为是家宽、机房的,看来是否家宽不太统一啊。不过所有数据库都认为IP非常纯净,流媒体解锁也正常。不过ping0.cc就认为是普通的IDC机房广播IP了,IP质量也一般。

华纳云香港轻量国际线路云服务器看youtube
VPS小学生本地是移动带宽,用华纳云香港轻量国际线路云服务器看视频将近12万+的速度,非常流程的看4K的清晰度。不过根据之前路由测试就移动延迟低一点,所以本地是电信带宽和联通带宽的朋友看视频速度估计就要慢一些了。
华纳云香港轻量国际线路云服务器搭建网站

华纳云香港轻量国际线路云服务器安装宝塔建站面板
这台最低配华纳云香港轻量国际线路云服务器在安装宝塔建站面板并配置默认的LNMP环境之后,还有700M内存的剩余,还有42GB硬盘的剩余,用来搭建个小网站资源是够用的,不过因为到内地往返都绕路,还是面向东南亚、欧美机房建站更适合。
以上就是VPS小学生对华纳云香港轻量国际线路云服务器的测评。可以看到华纳云香港轻量国际线路云服务器硬件上中规中矩,硬盘给的比较多,内存也比较大,500M带宽大部分节点上传下载都能跑到450M非常不错。但是到内地的延迟比较高,三网往返都绕路,回程三网绕日本,移动延迟还行,但是电信联通延迟较高。部分数据库认为是香港原生IP或者商宽IP,流媒体解锁还不错,IP纯净度非常高,不过最多算香港原生IP,算香港ISP的IP都有点勉强,反正华纳云也没宣传是什么IP,总比纯广播IP要好一些。移动带宽看视频有将近12万+的速度还是很不错的,不过电信和联通带宽看视频估计就要差一些了。如果有面向海外用户建站需求,同时本地是移动带宽想用来看视频,想要香港机房带宽大一点的朋友还是很适合入手的,如果本地是电信联通带宽,还是入手华纳云香港轻量云服务器回国优化线路更适合。
华纳云最新促销活动:http://www.vpsxxs.com/tag/huanayun/
以上就是VPS小学生和您分享的“华纳云香港轻量国际线路云服务器测评:香港原生IP流媒体解锁好,三网绕路看视频12万+速度,适合移动用户”,希望对大家有所帮助,如果大家还有什么问题的话,欢迎在下面评论留言,VPS小学生知无不言!

关注公众号VPSXXS














