VinaHost越南VPS测评:双ISP越南原生IP,看视频12万+速度,25端口开放,移动往返直连延迟低
站长:搬瓦工美国CN2 GIA/日本/荷兰等19个机房可随意切换,49.99美元/季,支持支付宝/Paypal
推荐:DMIT美国CN2 GIA,每15天可以免费换一次IP(被 * ),9.99美元/月,支持支付宝/Paypal VinaHost是个有十几年历史的老牌越南IDC商家了,只是不经常搞活动,而且只支持Paypal和加密货币,所以国内用户少一些,但是毕竟开这么多年了,喜欢用东南亚机房的还是有不少知道VinaHost的,因为VinaHost在东南亚还有泰国、柬埔寨、老挝、马来西亚等多个机房。其中越南机房最廉价的CheapSSD VPS国际方向只有10M的带宽,从ProSSD VPS开始都是100M的带宽无限流量,VPS小学生认为次最低配的1H1G套餐性价比最高,这里VPS小学生就测试下1H1G配置的VinaHost越南VPS的性能供大家参考。
测评同款:1核1G、25GB SSD、20.63美元/季度,点此购买
测评同线路,都是100Mbps带宽无限流量,1个IPv4:
| CPU | 内存 | 硬盘 | 价格 | 购买地址 |
| 1核 | 512M | 12GB NVMe | 18.98美元/季度 | 点此购买 |
| 1核 | 1G | 25GB NVMe | 20.63美元/季度 | 点此购买 |
| 2核 | 2G | 50GB NVMe | 13.5美元/月 | 点此购买 |
| 3核 | 3G | 50GB NVMe | 15.75美元/月 | 点此购买 |
| 4核 | 4G | 60GB NVMe | 22.5美元/月 | 点此购买 |
| 6核 | 6G | 80GB NVMe | 32.5美元/月 | 点此购买 |
| 8核 | 8G | 100GB NVMe | 44.5美元/月 | 点此购买 |
VinaHost最新促销活动:http://www.vpsxxs.com/tag/vinahost/
VinaHost越南VPS硬件测试

VinaHost越南VPS硬件测试
首先看一下VinaHost越南VPS的硬件测试。可以看到是用的E5-2683v3处理器,单核2.00GHz的频率。读出来991M的内存,没有默认的虚拟内存。25GB硬盘都读出来了,硬盘平均读写速度210MB/S。硬件整体性能很一般,属于刚刚够用那种。可以看到是KVM虚拟化的,VPS小学生手动安装了原生BBR。
VinaHost越南VPS网络测试

VinaHost越南VPS到国内外上传下载速度测试
可以看到,VinaHost越南VPS到国内外下载速度都跑满100M带宽了,对于国人用户更重要的上传速度来说,基本也都跑到90M以上了,上传下载速度给的还是很充裕的,对于“无限流量”VPS来说这带宽没缩水,不错。

VinaHost越南VPS国内ping
VinaHost越南VPS到国内的平均延迟231ms,算是正常越南机房延迟了,因为越南机房现在都绕路,这个延迟也正常。来看看具体的三网路由:

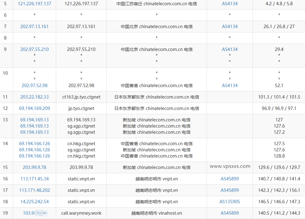
VinaHost越南VPS电信去程路由

VinaHost越南VPS电信回程路由

VinaHost越南VPS联通去程路由

VinaHost越南VPS联通回程路由

VinaHost越南VPS移动去程路由

VinaHost越南VPS移动回程路由
可以看到,VinaHost越南VPS电信去程绕到日本,然后经过新加坡到到越南胡志明市机房,算是小绕了一下,回程竟然大部分节点都是直连回程的,延迟比较低;联通去程先绕到美国,然后到日本,再经过中国香港到越南,延迟高到天上了,回程依然绕美国,延迟很高;移动去程经过新加坡这都算直连了,延迟最低,回程连新加坡机房都不经过了直接直连回程,延迟更低。等于移动往返直连延迟超低,电信去程稍微绕了一下回程也基本直连,联通是往返都绕美国。可以看到是越南邮政通信集团VNPT的机房。

VinaHost越南VPS网络质量体检报告
从VinaHost越南VPS网络质量体检报告可以看到去程电信联通延迟都挺高的,电信稍微延迟低一些,但是移动去程延迟要低很多。三网回程都是走各自最便宜的路由。到新加坡延迟最低,到香港机房延迟也比较低,如果中转的话比较适合用香港机房或者新加坡机房。

VinaHost越南VPS ping.pe丢包测试
可以看到VinaHost越南VPS到美国东部机房有小部分丢包,到美国西部、中国、东南亚等机房基本都没有丢包的情况,丢包率比较低。
VinaHost越南VPS看视频

VinaHost越南VPS是否原生IP检测

VinaHost越南VPS流媒体解锁能力测试
至少VPS小学生随机开通的这台VinaHost越南VPS是越南原生IP,能原生解锁越南Tiktok、越南Netflix、越南人工智能平台和所有越南本土流媒体,流媒体解锁能力超强!

VinaHost越南VPS pingip.cn是否住宅IP检测

VinaHost越南VPS IP质量体检报告

VinaHost越南VPS ping0.cc是否家庭IP检测
VinaHost越南VPS在pingip.cn检测出来是双ISP家庭带宽IP,并且是越南原生IP,IP风险值低。IP质量体检报告大部分数据库也认为是双ISP家宽,只有IP2Location认为是机房IP,大部分数据库认为IP低风险。25端口开放,而且大部分邮箱通讯都正常,这点很不错。ping0.cc认为是单ISP原生IP,IP纯净。综上三个检测,VPS小学生认为是越南双ISP和越南原生IP是没问题的。

VinaHost越南VPS看youtube
VPS小学生本地是移动带宽,用VinaHost越南VPS看视频有12万+的速度,非常流畅的看4K的清晰度,东南亚机房有这个速度非常快啊。估计也是因为之前测试移动往返直连延迟低的原因。反正带宽基本能都跑跑满了,根据路由来看,本地是电信带宽的朋友看视频速度就要慢一些了,本地是联通带宽的朋友速度就要更慢了。
VinaHost越南VPS搭建网站

VinaHost越南VPS安装宝塔建站面板
这台基本是最低配的VinaHost越南VPS在安装宝塔建站面板并配置默认的LNMP环境之后,还有322M内存的剩余和19GB硬盘的剩余,硬盘剩余有点小了,建议用配置更高一些的套餐建站。因为是双ISP越南原生IP,很适合面向东南亚用户搭建外贸独立站。
以上就是VPS小学生对VinaHost越南VPS的测评。可以看到VinaHost越南VPS的硬件性能一般,只是刚够用而已。不过上传下载基本都跑满100M带宽,对于无限流量VPS来说带宽给的很充裕。联通绕美国到国内延迟超高,电信延迟还可以,移动往返直连延迟超低,而且移动带宽看视频有12万+的速度,对于东南亚机房来说非常快的速度了。而且意外之喜是竟然还是双ISP越南原生IP,越南本土流媒体解锁优秀,非常适合有越南Tiktok视频运营需求的朋友入手,而且25端口开放,大部分邮箱通讯也正常。总之非常适合本地是移动带宽的朋友用来看视频、做越南Tiktok短视频外贸、面向东南亚用户搭建外贸网站、做东南亚电子邮件群发的朋友使用。只是如果做越南Tiktok直播的话,移动用户可以直接播,本地是电信带宽、尤其是联通带宽的朋友,最好还是用搬瓦工香港机房、或者DMIT香港机房优化线路中转一下更合适。
VinaHost最新促销活动:http://www.vpsxxs.com/tag/vinahost/
以上就是VPS小学生和您分享的“VinaHost越南VPS测评:双ISP越南原生IP,看视频12万+速度,25端口开放,移动往返直连延迟低”,希望对大家有所帮助,如果大家还有什么问题的话,欢迎在下面评论留言,VPS小学生知无不言!

关注公众号VPSXXS














