AkileCloud日本JPHyper VPS测评:看视频14万+速度,日区流媒体解锁好,三网绕路延迟高
站长:搬瓦工美国CN2 GIA/日本/荷兰等19个机房可随意切换,49.99美元/季,支持支付宝/Paypal
推荐:DMIT美国CN2 GIA,每15天可以免费换一次IP(被 * ),9.99美元/月,支持支付宝/Paypal AkileCloud在日本有好几个线路套餐,前几天刚补货了JPHyper最便宜的番茄特供版,仅需7.3元/月,现在还有货。不过VPS小学生搞到的测试机配置高一些(因为要测试建站能力),但是所有的日本JPHyper套餐带宽、线路都是一样的,也都是内置AKILE DNS日本内网解锁流媒体解锁,支持支付宝、银联、Paypal和主流加密货币。这里VPS小学生就测试下AkileCloud日本JPHyper VPS的性能供大家参考。
测评同款:2核CPU、2G内存、20GB硬盘、10TB月流量、2.5Gbps带宽、1个IPv4、99.99元/月,点此入手
同线路:JPHyper-One番茄特供,1TB月流量,7.3元/月,点此入手
AkileCloud最新促销活动:http://www.vpsxxs.com/tag/akilecloud/
AkileCloud日本JPHyper VPS硬件测试

AkileCloud日本JPHyper VPS硬件测试
首先看一下AkileCloud日本JPHyper VPS的硬件测试。可以看到是用的Gold 6133处理器,双核2.50GHz的频率,CPU还不错。读出来1985M的内存,没有默认的虚拟内存。20GB硬盘都读出来了,硬盘平均读写速度100MB/s,搁以前VPS小学生就认为是石头盘了,不过测试了AkileCloud好几个不同机房不同套餐都是100MB/s的速度,怀疑AkileCloud限制硬盘读写防止有人频繁读写硬盘。
AkileCloud日本JPHyper VPS网络测试

AkileCloud日本JPHyper VPS到国内外上传下载速度测试
可以看到,AkileCloud日本JPHyper VPS亚洲节点下载速度都能跑到2G左右,对于国人用户更重要的上传速度来说,内地节点基本都在300M以上,欧美节点也基本300M以上,不过亚太沿海机房上传速度都快2G了,面向港台、东京的上传速度还是很快的。

AkileCloud日本JPHyper VPS国内ping
AkileCloud日本JPHyper VPS到国内的平均延迟270ms,不用想肯定全球绕了,日本机房直连的话一般70ms都不会超过。不过2.5Gbps的大带宽也能预料的肯定绕路。来看看具体的三网路由:

AkileCloud日本JPHyper VPS电信去程路由

AkileCloud日本JPHyper VPS电信回程路由

AkileCloud日本JPHyper VPS联通去程路由

AkileCloud日本JPHyper VPS联通回程路由

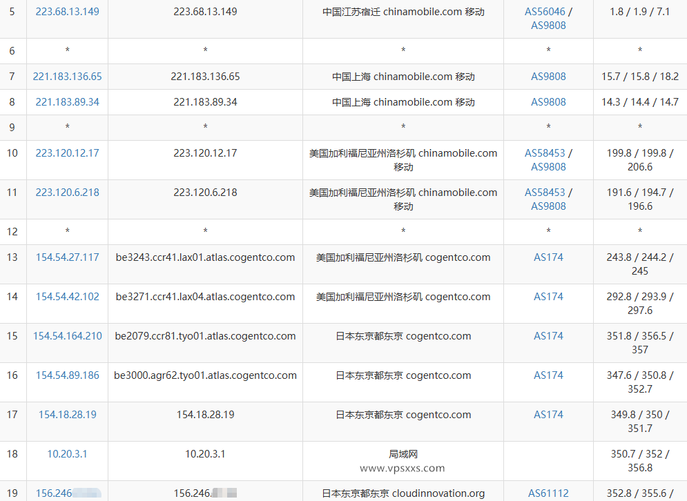
AkileCloud日本JPHyper VPS移动去程路由

AkileCloud日本JPHyper VPS移动回程路由
可以看到AkileCloud日本JPHyper VPS电信去程先绕到美国然后到日本,回程还是先绕美国然后到日本;联通去程依然绕美国,回程还是绕美国;移动去程也是绕美国,回程还是绕美国。三网往返都是绕美国,没直连甚至没小绕的,路由是真的差。

AkileCloud日本JPHyper VPS网络质量体检报告
从网络质量体检报告也可以看到AkileCloud日本JPHyper VPS到国内大部分节点延迟都很高,反而是IPv6的延迟还比较低,不过这延迟应该也是绕路,据说日本周边被鲨鱼咬断的海底光缆要到2月月底才修好,估计到时候延迟会好一些。
AkileCloud日本JPHyper VPS看视频

AkileCloud日本JPHyper VPS是否原生IP检测

AkileCloud日本JPHyper VPS流媒体解锁能力测试
至少VPS小学生的这台AkileCloud日本JPHyper VPS被判定为日本原生IP,能原生解锁日本Tiktok,不过Netflix等部分平台是DNS解锁,人工智能平台有原生解锁的也有DNS解锁的。另外能解锁的日本本土流媒体、游戏平台、音乐平台不少,大家可以看下有没有自己需要的解锁能力。

AkileCloud日本JPHyper VPS ipinfo.io是否住宅IP检测

AkileCloud日本JPHyper VPS IP质量体检报告

AkileCloud日本JPHyper VPS ping0.cc是否家庭IP检测
在ipinfo.io检测出来AkileCloud日本JPHyper VPS两个type的值都是“hosting”,就是普通的机房IP。IP质量体检报告也认为是普通的机房IP,IP纯净度一般。ping0.cc也认为是普通的IDC机房IP,也认为是广播IP。

AkileCloud日本JPHyper VPS看youtube
VPS小学生本地是移动带宽,用AkileCloud日本JPHyper VPS看视频有将近14万+的速度,非常流程的看4K的清晰度。之前测试三网往返都绕路挺严重的,看来就是靠2.5Gbps的大带宽大力出奇迹,所以本地是电信带宽和联通带宽的朋友看视频估计也是这个速度了。
AkileCloud日本JPHyper VPS搭建网站

AkileCloud日本JPHyper VPS安装宝塔建站面板
AkileCloud日本JPHyper VPS在安装宝塔建站面板并配置默认的LNMP环境之后,占用了464M的内存和7GB的硬盘,大家建站的话最好还是用配置高一些的套餐。不过AkileCloud日本JPHyper VPS到国内三网往返绕路,不太适合面向国内用户建站,还是面向海外用户建站更适合。
以上就是VPS小学生对AkileCloud日本JPHyper VPS的测评。可以看到AkileCloud日本JPHyper VPS硬件上CPU还不错,其他一般。给的带宽确实大,但是内地节点上传速度只有300M,倒是够用,亚太其他机房上传速度能跑到2G非常厉害。三网到国内往返都绕路延迟比较高,IP也是普通的广播IP,不过日本流媒体解锁能力还是不错的,而且看视频也有14万+的速度,能非常流程的看4K的清晰度。如果单纯想要日本机房服务器用来看视频,用来看日本本土流媒体的话,AkileCloud日本JPHyper VPS还是值得入手一试的。
AkileCloud最新促销活动:http://www.vpsxxs.com/tag/akilecloud/
以上就是VPS小学生和您分享的“AkileCloud日本JPHyper VPS测评:看视频14万+速度,日区流媒体解锁好,三网绕路延迟高”,希望对大家有所帮助,如果大家还有什么问题的话,欢迎在下面评论留言,VPS小学生知无不言!

关注公众号VPSXXS














