Hostwinds美国达拉斯VPS测评:美国原生IP,IP纯净度高,三网往返直连看视频8万+速度
站长:搬瓦工美国CN2 GIA/日本/荷兰等19个机房可随意切换,49.99美元/季,支持支付宝/Paypal
推荐:DMIT美国CN2 GIA,每15天可以免费换一次IP(被 * ),9.99美元/月,支持支付宝/Paypal Hostwinds的机房比较少,到现在就成立十五年了才有美国西雅图、达拉斯、荷兰阿姆斯特丹这三个机房,其中的西雅图机房VPS小学生之前已经测评过了(扩展阅读:Hostwinds美国西雅图VPS测评:美国原生IP,看视频10万+速度,管理型服务器适合建站使用),因为机房位置的原因,Hostwinds的服务器到中国其实并没有走优化线路。不过Hostwinds最出名的还是自己的全托管VPS,基本上所有技术问题Hostwinds都能帮忙解决,就是平常比较贵,如果跟这次VPS小学生入手的时候有促销的话性价比还是很适合需要稳定建站的朋友入手的。Hostwinds并不能切换机房,这次VPS小学生是又买了一台Hostwinds美国达拉斯机房全托管型Linux VPS最低配套餐。这里VPS小学生就测试下Hostwinds美国达拉斯VPS的性能供大家参考。
测评同款:1核CPU、1G内存、30GB SSD硬盘、1TB月流量、1Gbps带宽、1个IPv4、2.75美元/月(支持支付宝/Paypal),点此购买
可选正版Windows系统的管理型Windows VPS稍微贵一点,点此购买
Hostwinds最新促销活动:http://www.vpsxxs.com/tag/hostwinds/
Hostwinds美国达拉斯VPS硬件测试

Hostwinds美国达拉斯VPS硬件测试
首先看一下Hostwinds美国达拉斯VPS的硬件测试。可以看到是用的E5-2620v2处理器,单核2.10GHz的频率,CPU性能有点弱啊。读出来991M的内存,没有默认的虚拟内存。30GB硬盘都读出来了,硬盘平均读写速度137MB/s,硬盘读写速度也一般。整体硬件性能有点弱,属于勉强够用那种,好在内存和硬盘给的量还可以。可以看到是KVM虚拟化的,VPS小学生手动安装了原生BBR。
Hostwinds美国达拉斯VPS网络测试

Hostwinds美国达拉斯VPS到国内外上传下载速度测试
可以看到,Hostwinds美国达拉斯VPS到国内外下载速度基本都跑到600M以上了,对中国用户更重要的上传速度来说,大部分节点都在200M以上,海外节点大部分都在400M以上,上传下载速度也一般。

Hostwinds美国达拉斯VPS国内ping
Hostwinds美国达拉斯VPS到国内的平均延迟213ms,延迟稍微高一些,不过美国中东部机房基本上也都是这个延迟,应该也不会走什么优化线路了。来看看具体的三网路由:

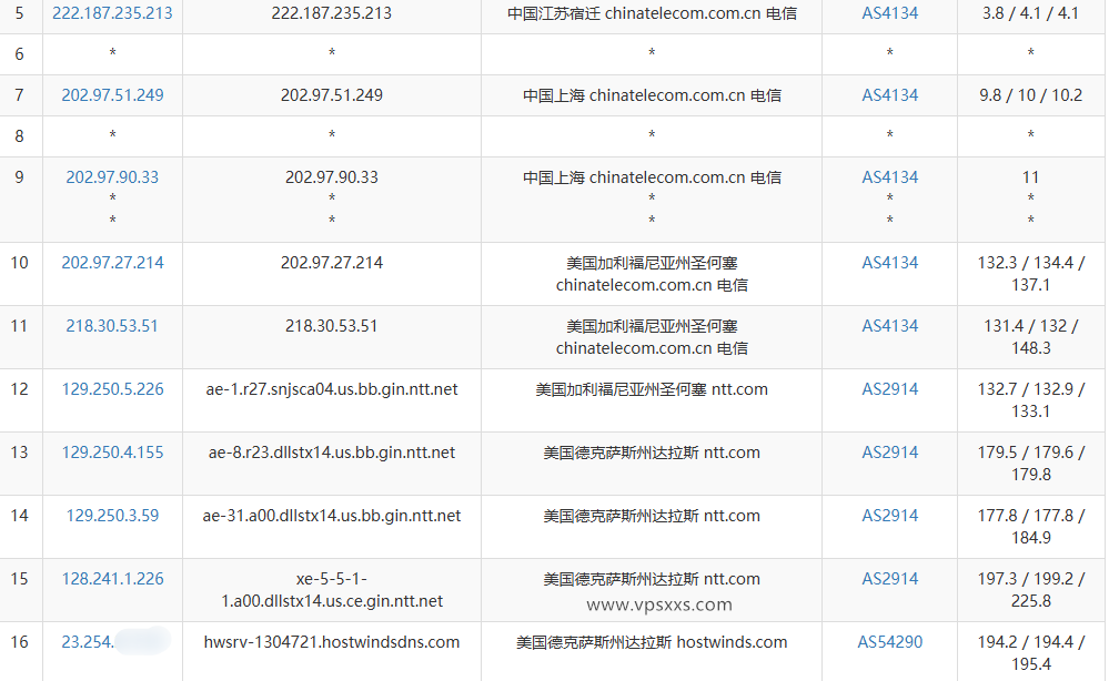
Hostwinds美国达拉斯VPS电信去程路由

Hostwinds美国达拉斯VPS电信回程路由

Hostwinds美国达拉斯VPS联通去程路由

Hostwinds美国达拉斯VPS联通回程路由

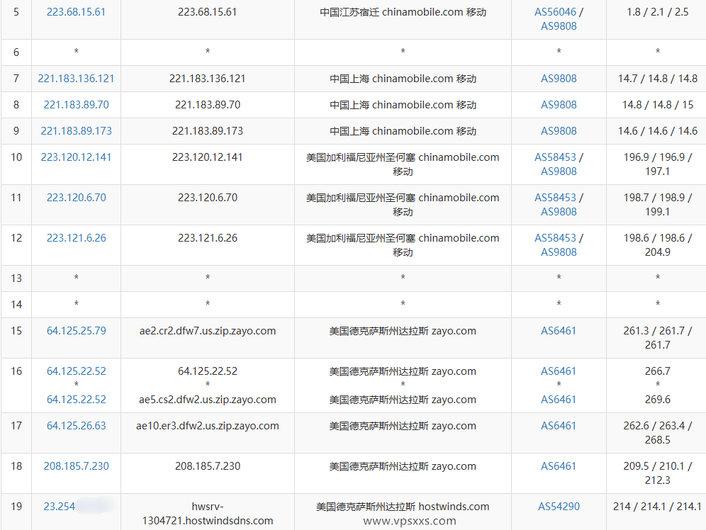
Hostwinds美国达拉斯VPS移动去程路由

Hostwinds美国达拉斯VPS移动回程路由
可以看到,Hostwinds美国达拉斯VPS电信去程是先到美国圣何塞,到圣何塞延迟挺低的,但是到达拉斯在美国国内延迟又高了一些,回程还是从圣何塞机房直连回程;联通去程依然是经过圣何塞机房,不过延迟较高,回程还是从美西圣何塞洛杉矶直连回程;移动去程依然是经过圣何塞直连,回程大部分节点都是经过美西机房直连回程。等于三网都是普通的往返直连,但是因为地理位置的原因,延迟比美西机房要高一些。
Hostwinds美国达拉斯VPS看视频

Hostwinds美国达拉斯VPS是否原生IP检测

Hostwinds美国达拉斯VPS流媒体解锁能力测试
至少VPS小学生随机开通的这台Hostwinds美国达拉斯VPS是美国原生IP,能原生解锁美国Tiktok、美国Netflix、美国人工智能平台等部分美区流媒体,大家可以看下有没有自己需要的解锁能力。

Hostwinds美国达拉斯VPS ipinfo.io是否住宅IP检测

Hostwinds美国达拉斯VPS IP质量体检报告

Hostwinds美国达拉斯VPS ping0.cc是否家庭IP检测
从ipinfo.io可以看到Hostwinds美国达拉斯VPS两个type的值都是“hosting”,就是普通的机房IP。IP质量体检报告也认为是机房IP,不过同时认为是美国原生IP,大部分数据认为IP纯净度还不错。ping0.cc也认为是IDC机房IP,不过同时也认为是美国原生IP,IP纯净度也非常好。

Hostwinds美国达拉斯VPS看youtube
VPS小学生本地是联通带宽,用Hostwinds美国达拉斯VPS看视频有8万+的速度,看4K的清晰度还是没问题的,对于美国东部机房来说这个速度算是正常表现了。根据之前的路由和上传下载速度测试,本地是电信和移动带宽的朋友看视频速度估计会快一些。
Hostwinds美国达拉斯VPS搭建网站

Hostwinds美国达拉斯VPS安装宝塔建站面板
这台最低配Hostwinds美国达拉斯VPS在安装宝塔建站面板并配置默认的LNMP环境之后,还有将近500M的内存和24GB硬盘的剩余,用来搭建个小网站还是够用的。最主要的是这台Hostwinds美国达拉斯VPS属于全托管机型,Hostwinds能帮忙迁移网站、搭建环境、解决一些通用问题,全托管贵就贵到这里了。
以上就是VPS小学生对Hostwinds美国达拉斯VPS的测评。可以看到Hostwinds美国达拉斯VPS硬件性能比较弱,甚至有点落后了,只能算勉强没拖网络的后腿而已。到国内的延迟也比较高,就是普通的美国东部机房三网往返直连线路。三网上传下载速度对于美东机房来说还行,看视频8万+的速度也能正常看4K清晰度了。不过所有脚本都认为是美国原生IP,并且IP纯净度也比较高,加之又是托管型服务器软硬件售后都比较好,如果有美国机房稳定建站需求,同时还兼顾用来看美区流媒体的话,Hostwinds美国达拉斯VPS还是值得入手一试的。
以上就是VPS小学生和您分享的“Hostwinds美国达拉斯VPS测评:美国原生IP,IP纯净度高,三网往返直连看视频8万+速度”,希望对大家有所帮助,如果大家还有什么问题的话,欢迎在下面评论留言,VPS小学生知无不言!

关注公众号VPSXXS














