Tokyonline日本KDDI VPS测评:双ISP日本家庭IP,三网直连看视频17万+速度,日本Tiktok直播无需中转
站长:搬瓦工美国CN2 GIA/日本/荷兰等19个机房可随意切换,49.99美元/季,支持支付宝/Paypal
推荐:DMIT美国CN2 GIA,若被*每15天可以免费换一次IP,12.98美元/月,支持支付宝/Paypal Tokyonline是个日本本土IDC商家,其中的“TY8 - 東京ゾーン”(Tokyonline日本东京BGP线路VPS测评:日本原生IP,延迟高,仅适合电信联通回程线路直连)和“So-Net - 東京ゾーン”(Tokyonline索尼通讯日本VPS测评:双ISP日本住宅IP,三网往返直连延迟低,看视频14万+速度)机房VPS小学生已经测评过了,Tokyonline另外还有“KDDI - 東京ゾーン”套餐,顾名思义是在日本第二大电信运营商KDDI的机房,产品介绍页说是日本本土IP,不允许BT/PT(反向证明是日本家庭IP),除Linux系统外还可选Windows 2012操作系统,又支持支付宝,中国用户还是不少的,这里VPS小学生就测试下最低配200Mbps带宽的Tokyonline日本KDDI VPS的性能供大家参考。
测评同款:2H 2G 30GB HDD 10TB流量 200Mbps,12800日元/月,点此入手
测评同线路,最后一款是日本独立服务器:
| CPU | 内存 | 硬盘 | 流量 | 带宽 | IPv4 | 价格 | 购买地址 |
| 2核 | 2G | 30GB HDD | 10TB | 200Mbps | 1个 | 12800日元/月 | 点此购买 |
| 2核 | 4G | 50GB HDD | 25TB | 300Mbps | 1个 | 19800日元/月 | 点此购买 |
| 4核 | 6G | 100GB HDD | 50TB | 500Mbps | 1个 | 32800日元/月 | 点此购买 |
| 2核 | 4G | 100GB HDD | 无限 | 200Mbps | 1个 | 35800日元/月 | 点此购买 |
| E5-2697v3 | 64G | 50000GB SAS | 无限 | 1000Mbps | 29个 | 290000日元/月 | 点此购买 |
Tokyonline最新促销活动:http://www.vpsxxs.com/tag/tokyonline/
Tokyonline日本KDDI VPS硬件测试

Tokyonline日本KDDI VPS硬件测试
首先看一下Tokyonline日本KDDI VPS的硬件测试。可以看到是用的E5-2697v2处理器,双核2.70GHz的频率。读出来3951M的内存,多给了一倍的内存啊,没有默认的虚拟内存。30GB硬盘都读出来了,硬盘平均读写速度109MB/s,在石头盘的边缘疯狂试探,不过也证明商家说是HDD硬盘就是HDD,没冒充SSD硬盘。硬件整体性能一般,内存给了双倍的,不知道是BUG还是配置升级了前台忘了修改了。可以看到是KVM虚拟化的,VPS小学生手动安装了原生BBR。
Tokyonline日本KDDI VPS网络测试

Tokyonline日本KDDI VPS到国内外上传下载速度测试
Tokyonline日本KDDI VPS到国内外下载速度基本都跑满带宽了,对中国用户更重要的上传速度来说,中国内地和沿海节点上传速度都到250M左右了,上传速度比下载速度还好,带宽给的非常充裕。

Tokyonline日本KDDI VPS国内ping
Tokyonline日本KDDI VPS到国内的平均延迟69ms,国内节点全绿,很久没看到延迟这么低的日本机房了,这个延迟大概率是三网直连了。来看看具体的三网路由:

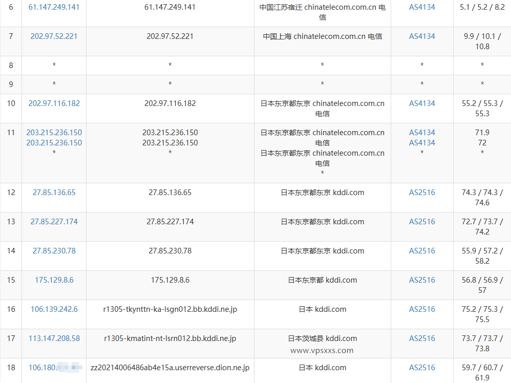
Tokyonline日本KDDI VPS电信去程路由

Tokyonline日本KDDI VPS电信回程路由

Tokyonline日本KDDI VPS联通去程路由

Tokyonline日本KDDI VPS联通回程路由

Tokyonline日本KDDI VPS移动去程路由

Tokyonline日本KDDI VPS移动回程路由
可以看到,Tokyonline日本KDDI VPS电信去程直连日本东京,回程还是直连回程;联通去程也是直连日本,延迟更低,回程也是直连回程;移动去程是经过香港到日本大阪然后到东京,延迟稍高,回程还是经过香港机房直连回程。三网都是往返直连,在日本国内走KDDI自己的路由。

Tokyonline日本KDDI VPS网络质量体检报告
从Tokyonline日本KDDI VPS网络质量体检报告可以看到,电信联通去程延迟都很低,移动延迟稍微高一些,三网回程都走各自普通线路回程,到东京同机房延迟也低,到其他机房延迟其实一般。

Tokyonline日本KDDI VPS ping.pe丢包测试
Tokyonline日本KDDI VPS的ping.pe丢包测试结果很好啊,不管是到国内,还是到中国内地节点,基本都没有丢包的情况,丢包率非常低。
Tokyonline日本KDDI VPS看视频

Tokyonline日本KDDI VPS是否原生IP检测

Tokyonline日本KDDI VPS流媒体解锁能力测试
至少VPS小学生随机开通的这台Tokyonline日本KDDI VPS是日本原生IP,能原生解锁日本Tiktok、日本Netflix、日本AI人工智能平台和大部分日本流媒体、游戏和音乐平台,大家可以看下有没有自己需要的解锁能力。

Tokyonline日本KDDI VPS pingip.cn是否住宅IP检测

Tokyonline日本KDDI VPS IP质量体检报告

Tokyonline日本KDDI VPS ping0.cc是否家庭IP检测
pingip.cn检测出来Tokyonline日本KDDI VPS是双ISP家庭带宽IP,并且是日本原生IP,IP风险低。IP质量体检报告也认为是日本原生IP,几乎所有数据库都认为是日本家宽IP,不过有的认为IP是低风险,有小部分认为IP风险高,流媒体解锁全绿。ping0.cc也认为是双ISP家庭带宽IP,并且IP极度纯净。难得这么多检测平台都统一检测结果,所以应该确实是双ISP日本家庭原生IP,IP纯净度也非常好。

Tokyonline日本KDDI VPS看youtube
VPS小学生本地是联通带宽,用Tokyonline日本KDDI VPS看视频直接17万+的速度,非常流畅的看4K的清晰度。毕竟只有200M的带宽,这速度基本跑满带宽了。根据之前路由测试,本地是电信带宽的朋友应该也是这个速度,本地是移动带宽的朋友速度估计会慢一些,不过三网延迟都不高,看视频、搞直播速度应该都很快的。
Tokyonline日本KDDI VPS搭建网站

Tokyonline日本KDDI VPS安装宝塔建站面板
这台最低配Tokyonline日本KDDI VPS在安装宝塔建站面板并配置默认的LNMP环境之后,还有3.3G内存的剩余,还有24GB硬盘的剩余,用来搭建网站资源是很充裕的。三网往返直连延迟低适合面向中国用户建站,日本家庭IP也适合面向东南亚或者日韩用户搭建外贸独立站使用。
以上就是VPS小学生对Tokyonline日本KDDI VPS的测评。可以看到Tokyonline日本KDDI VPS的硬件性能一般,好在给的量比较大。剩下的都是惊喜了,到国内三网往返直连,尤其是电信联通延迟都非常低,移动延迟其实也还行,上传下载都跑到200M以上了,带宽给的很充裕,看视频17万+的速度,非常流畅的看4K的清晰度。日本本土流媒体和AI平台解锁优秀,不但是双ISP日本原生IP,所有数据库还都认为是日本家庭IP,IP纯净度也非常高,在日本国内走KDDI的路由等于走真实日本本土路由,对于想要低延迟日本本土IP玩游戏、解锁日本流媒体、日本AI平台、做日本外贸网站、想要日本家宽IP做日本Tiktok直播还无需中转的朋友来说,Tokyonline日本KDDI VPS还是非常值得入手的!
Tokyonline最新促销活动:http://www.vpsxxs.com/tag/tokyonline/
以上就是VPS小学生和您分享的“Tokyonline日本KDDI VPS测评:双ISP日本家庭IP,三网直连看视频17万+速度,日本Tiktok直播无需中转”,希望对大家有所帮助,如果大家还有什么问题的话,欢迎在下面评论留言,VPS小学生知无不言!

关注公众号VPSXXS















